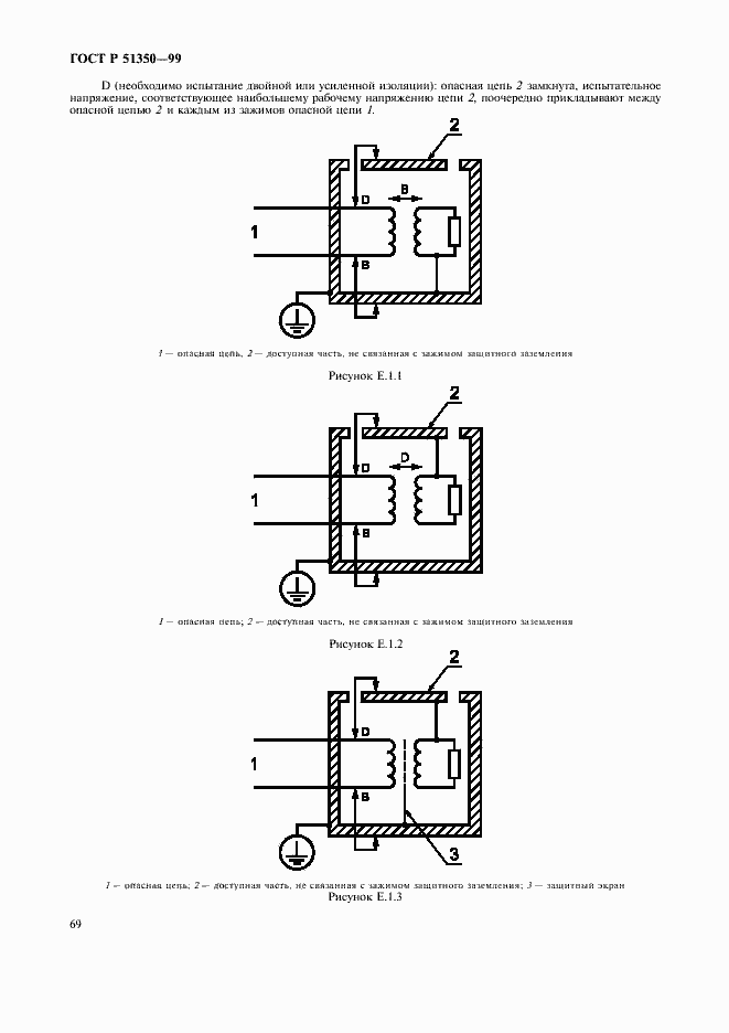
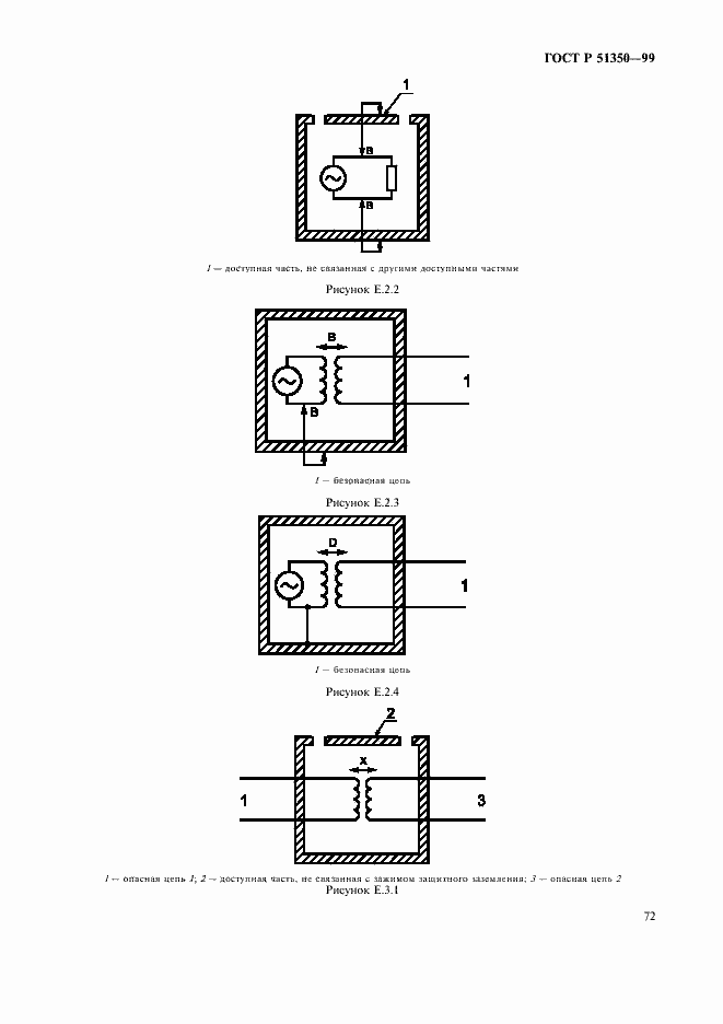
ГОСТ Р 51350-99 Безопасность электрических контрольно-измерительных приборов и лабораторного оборудования. Часть 1. Общие требования
ГОСТ Р
Скачать ГОСТ в PDF или DOC бесплатно
Основная информация
Обозначение:
ГОСТ Р 51350-99
Статус:
Отменен
Тип:
ГОСТ Р
Название русское:
Безопасность электрических контрольно-измерительных приборов и лабораторного оборудования. Часть 1. Общие требования
Название английское:
Safety requirements for electrical equipment for measurement, control, and laboratory use. Part 1. General requirements
Даты и сроки
Дата издания:
11-01-01
Дата введения в действие:
07-01-00
Дата завершения срока действия:
01-01-14
Применение и описание
Область и условия применения:
Настоящий стандарт устанавливает общие требования безопасности к электрическим контрольно-измерительным приборам и лабораторному оборудованию. Для определенных типов этого оборудования требования безопасности дополнены или изменены специальными требованиями частных стандартов. Частный стандарт следует применять совместно с настоящим стандартом
Связи и замены
Заменяющий:
-
Изменения и переиздания
Список изменений:
№0 от (рег. ) «Дата введения перенесена» №0 от (рег. ) «Текстовое изменение; Изменено заглавие»
Описание стандарта
ГОСТ Р 51350-99 Безопасность электрических контрольно-измерительных приборов и лабораторного оборудования. Часть 1. Общие требования
Страницы стандарта


























































































Приложение №2: Поправка к ГОСТ Р 51350-99 Обозначение: Поправка к ГОСТ Р 51350-99 Дата введения в действие: 15.06.2001

Приложение №3: Поправка к ГОСТ Р 51350-99 Обозначение: Поправка к ГОСТ Р 51350-99 Дата введения в действие: 14.06.2001
