ГОСТ 24199-80 Кронштейны регулируемые. Конструкция
ГОСТ
Скачать ГОСТ в PDF или DOC бесплатно
Основная информация
Обозначение:
ГОСТ 24199-80
Статус:
Действует
Тип:
ГОСТ
Название русское:
Кронштейны регулируемые. Конструкция
Название английское:
Regulated brackets. Design
Даты и сроки
Дата издания:
05-01-88
Дата введения в действие:
06-30-81
Дата завершения срока действия:
-
Применение и описание
Область и условия применения:
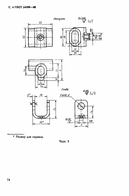
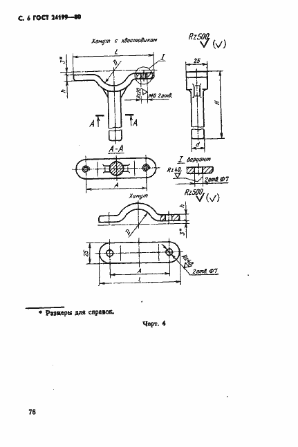
Настоящий стандарт распространяется на регулируемые кронштейны, применяемые для крепления стеклянных трубопроводов
Связи и замены
Заменяющий:
-
Взамен:
ГОСТ 15931-74
Изменения и переиздания
Список изменений:
№1 от (рег. ) «Срок действия продлен» №2 от (рег. ) «Поправка»
Описание стандарта
ГОСТ 24199-80 Кронштейны регулируемые. Конструкция
Страницы стандарта














