ГОСТ 25660-83 Фланцы изолирующие для подводных трубопроводов на Ру 10,0 МПа (около 100 кгс/см кв.). Конструкция
ГОСТ
Скачать ГОСТ в PDF или DOC бесплатно
Основная информация
Обозначение:
ГОСТ 25660-83
Статус:
Действует
Тип:
ГОСТ
Название русское:
Фланцы изолирующие для подводных трубопроводов на Ру 10,0 МПа (около 100 кгс/см кв.). Конструкция
Название английское:
Underwater pipeline sealing flanges 10,0 MPa (100 kgf/sq sm). Design
Даты и сроки
Дата издания:
05-13-83
Дата введения в действие:
06-30-84
Дата завершения срока действия:
-
Применение и описание
Область и условия применения:
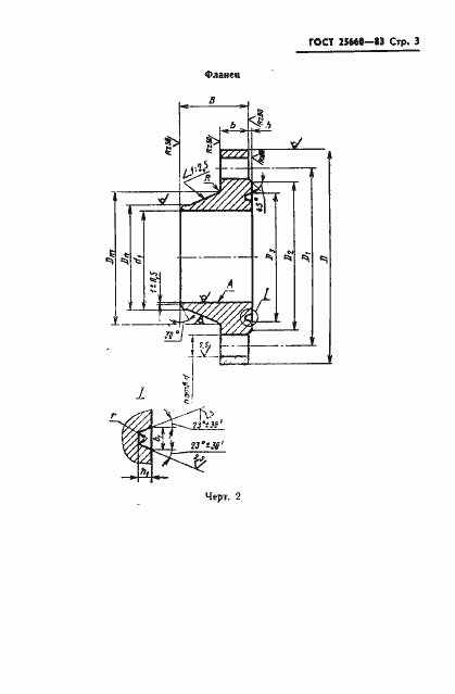
Настоящий стандарт распространяется на стальные приварные встык фланцы под прокладки и втулки иэ электроизоляционного материала
Связи и замены
Заменяющий:
-
Изменения и переиздания
Список изменений:
№0 от (рег. ) «Срок действия продлен» №1 от (рег. ) «Поправка»
Описание стандарта
ГОСТ 25660-83 Фланцы изолирующие для подводных трубопроводов на Ру 10,0 МПа (около 100 кгс/см кв.). Конструкция
Страницы стандарта













