ГОСТ 27218-87 Гибкие производственные модули и многоцелевые станки. Столы-спутники для крепления обрабатываемой заготовки. Основные и присоединительные размеры
ГОСТ
Скачать ГОСТ в PDF или DOC бесплатно
Основная информация
Обозначение:
ГОСТ 27218-87
Статус:
Действует
Тип:
ГОСТ
Название русское:
Гибкие производственные модули и многоцелевые станки. Столы-спутники для крепления обрабатываемой заготовки. Основные и присоединительные размеры
Название английское:
Flexible manufacturing modules and machining centres. Workholding pallets. Basic and coupling dimensions
Даты и сроки
Дата издания:
05-01-01
Дата введения в действие:
01-01-89
Дата завершения срока действия:
-
Применение и описание
Область и условия применения:
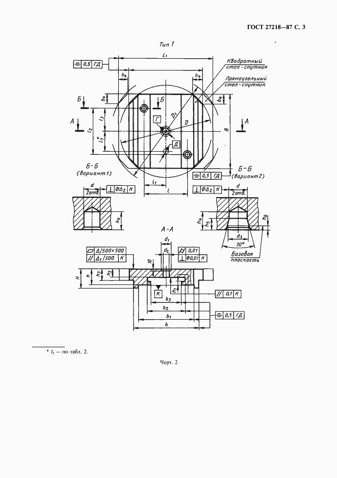
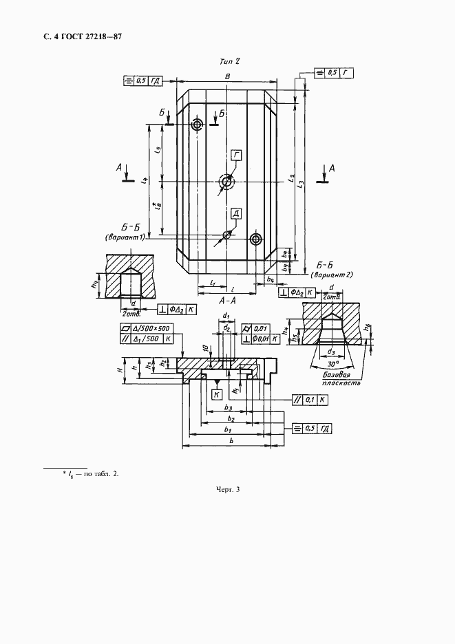
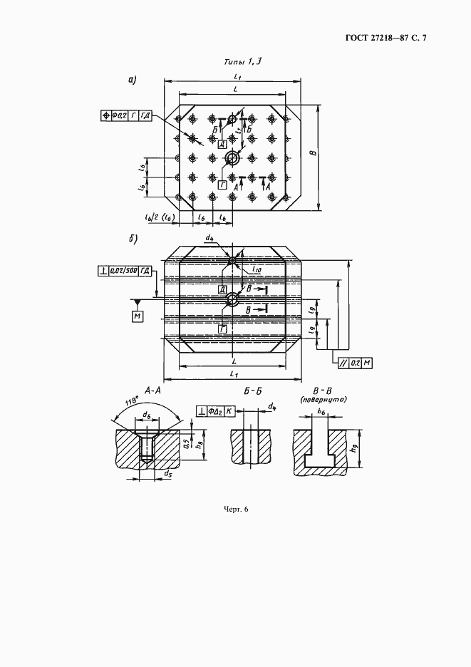
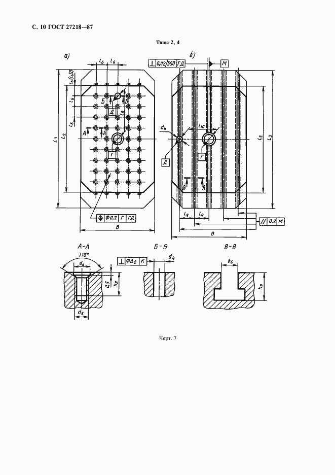
Настоящий стандарт распространяется на столы-спутники для крепления обрабатываемых заготовок корпусных и плоских (призматических) заготовок или технологической оснастки (ТО), применяемые на многоцелевых станках (МС), в гибких производственных модулях (ГПМ), и гибких производственных системах (ГПС), изготавливаемые для потребностей экономики страны и экспорта.Стандарт не распространяется на столы-спутники для МС, ГПМ и ГПС, разработанные до 01.07.86
Связи и замены
Заменяющий:
-
Изменения и переиздания
Список изменений:
№1 от (рег. ) «Срок действия продлен»
Описание стандарта
ГОСТ 27218-87 Гибкие производственные модули и многоцелевые станки. Столы-спутники для крепления обрабатываемой заготовки. Основные и присоединительные размеры
Страницы стандарта


















