ГОСТ Р 59789-2021 Молниезащита. Часть 3. Защита зданий и сооружений от повреждений и защита людей и животных от электротравматизма
ГОСТ Р
Скачать ГОСТ в PDF или DOC бесплатно
Основная информация
Обозначение:
ГОСТ Р 59789-2021
Статус:
Действует
Тип:
ГОСТ Р
Название русское:
Молниезащита. Часть 3. Защита зданий и сооружений от повреждений и защита людей и животных от электротравматизма
Название английское:
Protection against lightning. Part 3. Protection of buildings and structures from damage and people and animals from electrotraumatism
Даты и сроки
Дата издания:
11-11-21
Дата введения в действие:
03-01-22
Дата завершения срока действия:
-
Применение и описание
Область и условия применения:
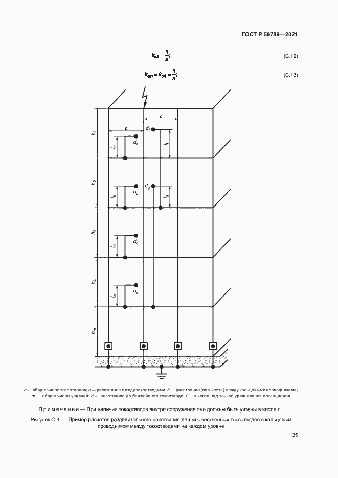
Настоящий стандарт содержит требования к защите зданий и сооружений от внешних и внутренних повреждений с помощью системы молниезащиты (СМЗ), а также к защите людей и животных от электротравм из-за воздействия напряжений прикосновения и шага вблизи СМЗ
Связи и замены
Заменяющий:
-
Описание стандарта
ГОСТ Р 59789-2021 Молниезащита. Часть 3. Защита зданий и сооружений от повреждений и защита людей и животных от электротравматизма
Страницы стандарта





















































































































