ГОСТ Р МЭК 60810-2015 Лампы для дорожных транспортных средств. Эксплуатационные требования
ГОСТ Р МЭК
Скачать ГОСТ в PDF или DOC бесплатно
Основная информация
Обозначение:
ГОСТ Р МЭК 60810-2015
Статус:
Заменен
Тип:
ГОСТ Р МЭК
Название русское:
Лампы для дорожных транспортных средств. Эксплуатационные требования
Название английское:
Lamps for road vehicles. Performance requirements
Даты и сроки
Дата издания:
12-15-16
Дата введения в действие:
01-01-16
Дата завершения срока действия:
07-01-23
Применение и описание
Область и условия применения:
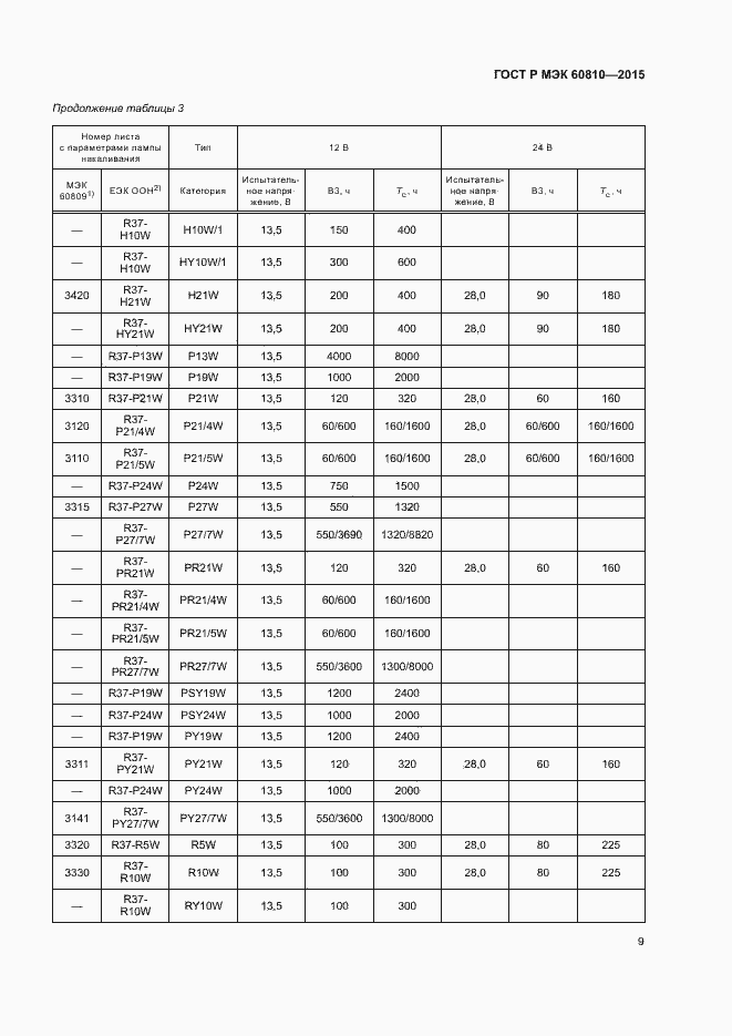
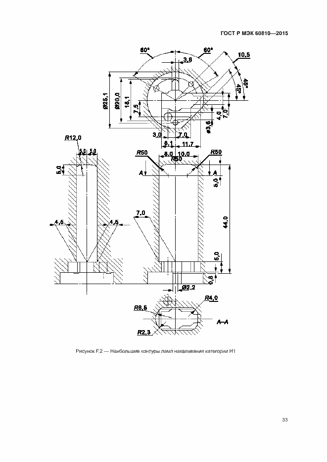
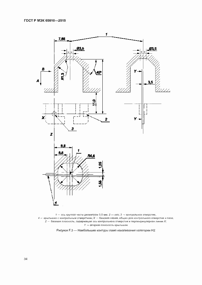
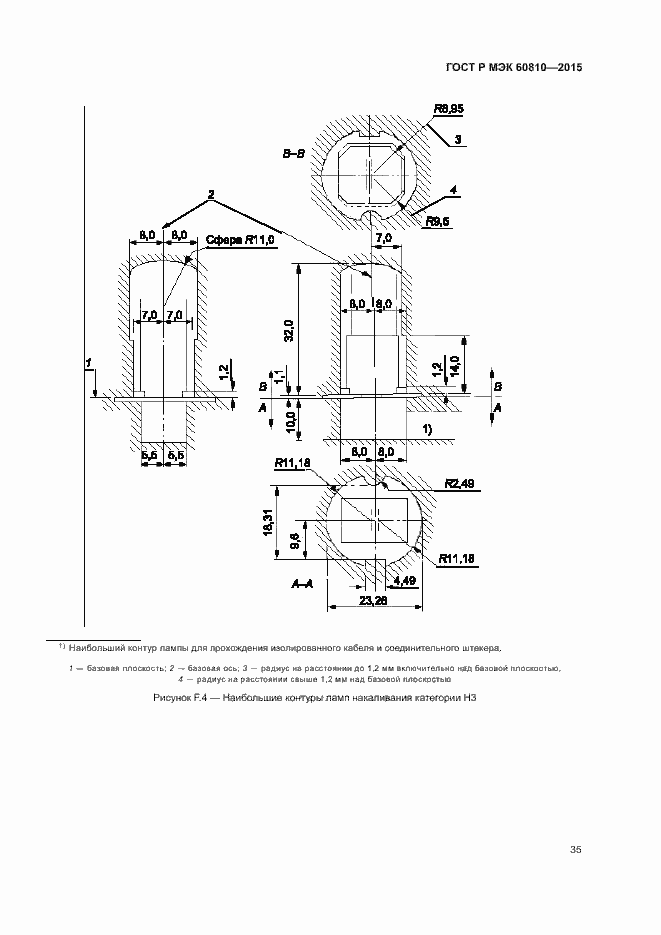
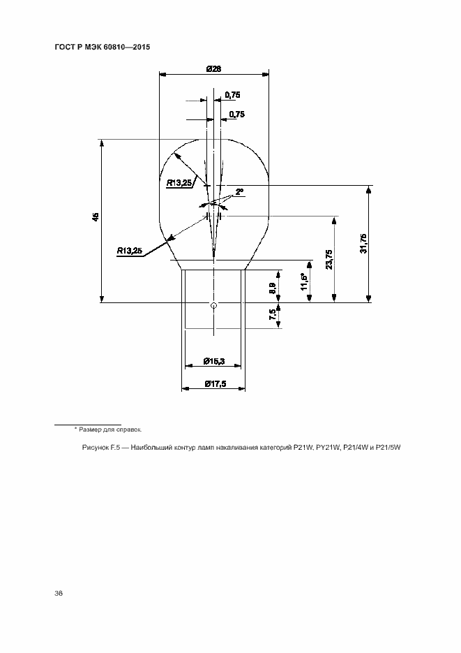
Настоящий стандарт распространяется на источники света (лампы накаливания, разрядные лампы и светодиодные источники света), используемые как фарные, противотуманные и светосигнальные для дорожных транспортных средств. Настоящий стандарт распространяется на лампы по МЭК 60809, но может быть использован для применения других ламп, входящих в область применения настоящего стандарта. Настоящий стандарт устанавливает требования и методы испытаний для контроля эксплуатационных характеристик, таких как продолжительность горения, сохранение светового потока, стойкость к крутящему моменту, прочность стеклянной колбы, стойкость к вибрации и механическому удару. Кроме того, в приложении F приведена информация для руководства при расчете осветительного и электрического оборудования, а именно: пределы температур, наибольшие контуры ламп и максимально допустимые колебания напряжения. Некоторые требования в настоящем стандарте включают в себя ссылки на данные, приведенные в таблицах. Для ламп, не указанных в этих таблицах, соответствующие данные должен предоставить изготовитель ламп или ответственный поставщик. Данные эксплуатационные требования дополняют основные требования, установленные в МЭК 60809. Однако они не предназначены для использования уполномоченными органами для целей законодательно установленного одобрения типа
Связи и замены
Заменяющий:
ГОСТ Р МЭК 60810-2022
Описание стандарта
ГОСТ Р МЭК 60810-2015 Лампы для дорожных транспортных средств. Эксплуатационные требования
Страницы стандарта


























































