ГОСТ IEC 60924-2012 Аппараты пускорегулирующие электронные, питаемые от источников постоянного тока, для трубчатых люминесцентных ламп. Общие требования и требования безопасности
ГОСТ МЭК
Скачать ГОСТ в PDF или DOC бесплатно
Основная информация
Обозначение:
ГОСТ IEC 60924-2012
Статус:
Действует
Тип:
ГОСТ МЭК
Название русское:
Аппараты пускорегулирующие электронные, питаемые от источников постоянного тока, для трубчатых люминесцентных ламп. Общие требования и требования безопасности
Название английское:
D.C. supplied electronic ballasts for tubular fluorescent lamps. General and safety requirements
Даты и сроки
Дата регистрации:
05-24-12
Дата издания:
11-21-14
Дата введения в действие:
01-01-15
Дата завершения срока действия:
-
Применение и описание
Область и условия применения:
Настоящий стандарт устанавливает общие требования и требования безопасности для ПРА, работающих от источников постоянного тока, нормируемое напряжение которых не превышает 250 В, в комплекте с люминесцентными лампами, соответствующими требованиями 60081. Стандарт также распространяется на ПРА для ламп, которые еще не стандартизированы
Связи и замены
Заменяющий:
-
Описание стандарта
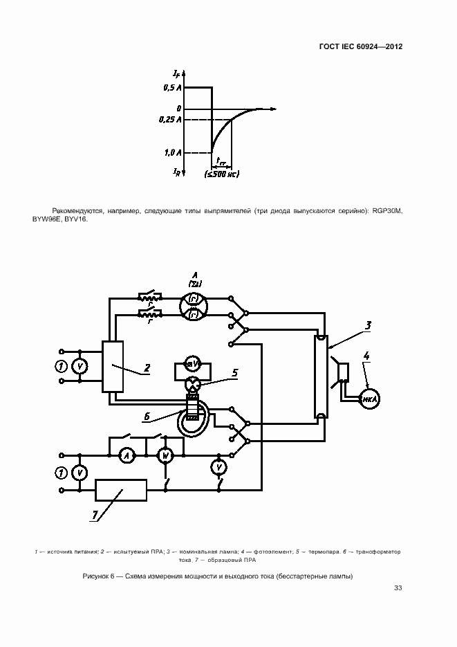
ГОСТ IEC 60924-2012 Аппараты пускорегулирующие электронные, питаемые от источников постоянного тока, для трубчатых люминесцентных ламп. Общие требования и требования безопасности
Страницы стандарта






































