ГОСТ Р МЭК 920-97 Аппараты пускорегулирующие для трубчатых люминесцентных ламп. Общие требования и требования безопасности
ГОСТ Р МЭК
Скачать ГОСТ в PDF или DOC бесплатно
Основная информация
Обозначение:
ГОСТ Р МЭК 920-97
Статус:
Заменен
Тип:
ГОСТ Р МЭК
Название русское:
Аппараты пускорегулирующие для трубчатых люминесцентных ламп. Общие требования и требования безопасности
Название английское:
Ballasts for tubular fluorescent lamps. General and safety requirements
Даты и сроки
Дата издания:
09-19-97
Дата введения в действие:
01-01-98
Дата завершения срока действия:
01-01-13
Применение и описание
Область и условия применения:
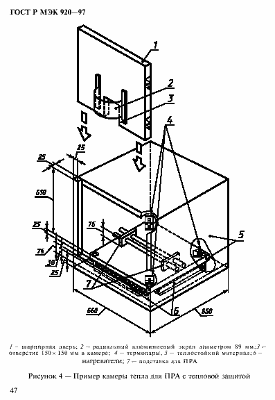
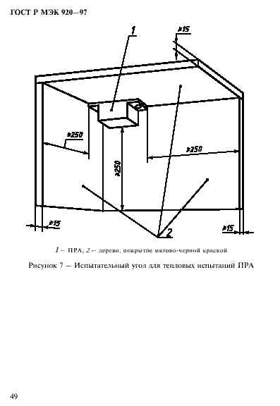
Настоящий стандарт распространяется на пускорегулирующие аппараты (ПРА), кроме омических резисторов, предназначенных для включения в сеть переменного тока напряжением до 1000 В частоты 50 или 60 Гц вместе с трубчатыми люминесцентными лампами без или с предварительным подогревом электродов, работающими с или без стартера или зажигающего устройства и имеющими нормированные мощности, размеры и характеристики, указанные в МЭК 81. Стандарт распространяется как на весь ПРА, так и такие его составные части, как дроссели, трансформаторы и конденсаторы. Настоящий стандарт также устанавливает требования к ПРА для ламп, которые еще не стандартизованы в рамках МЭК. Стандарт распространяется на ПРА для нормальной работы ламп на основной стандартной частоте. Стандарт не распространяется на полупроводниковые ПРА высокой частоты для сети переменного тока. Требования к ним установлены в публикации МЭК 928. Конденсаторы емкостью более 0,1 мкФ охватываются ГОСТ Р МЭК 1048 и МЭК 1049. Конденсаторы емкостью менее или равной 0,1 мкФ должны соответствовать МЭК 384-14
Связи и замены
Заменяющий:
ГОСТ Р МЭК 61347-2-8-2011
Описание стандарта
ГОСТ Р МЭК 920-97 Аппараты пускорегулирующие для трубчатых люминесцентных ламп. Общие требования и требования безопасности
Страницы стандарта
























































