ГОСТ 26772-85 Машины электрические вращающиеся. Обозначение выводов и направление вращения
ГОСТ
Скачать ГОСТ в PDF или DOC бесплатно
Основная информация
Обозначение:
ГОСТ 26772-85
Статус:
Действует
Тип:
ГОСТ
Название русское:
Машины электрические вращающиеся. Обозначение выводов и направление вращения
Название английское:
Rotating electrical machines. Terminal markings and direction of rotation
Даты и сроки
Дата издания:
03-28-86
Дата введения в действие:
01-01-87
Дата завершения срока действия:
-
Применение и описание
Область и условия применения:
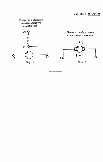
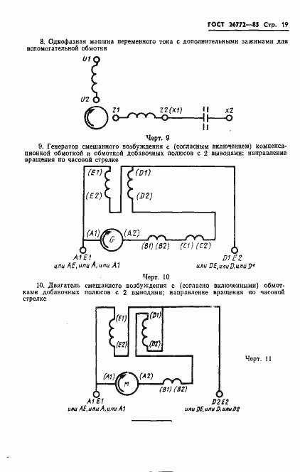
Настоящий стандарт распространяется на все виды электрических машин постоянного и переменного тока и устанавливает обозначение выводов их обмоток. Обозначения выводов буквами латинского алфавита распространяются только на вновь разрабатываемые машины. Обозначения выводов буквами русского алфавита распространяются только на ранее разработанные и модернизированные машины
Связи и замены
Заменяющий:
-
Взамен в части:
ГОСТ 183-74 в части пп. 5.1 - 5.9
Изменения и переиздания
Список изменений:
№1 от (рег. ) «Срок действия продлен»
Описание стандарта
ГОСТ 26772-85 Машины электрические вращающиеся. Обозначение выводов и направление вращения
Страницы стандарта






















