ГОСТ 27917-88 Машины электрические вращающиеся. Встроенная температурная защита. Термодетекторы и вспомогательная аппаратура управления, используемые в системах температурной защиты
ГОСТ
Скачать ГОСТ в PDF или DOC бесплатно
Основная информация
Обозначение:
ГОСТ 27917-88
Статус:
Действует
Тип:
ГОСТ
Название русское:
Машины электрические вращающиеся. Встроенная температурная защита. Термодетекторы и вспомогательная аппаратура управления, используемые в системах температурной защиты
Название английское:
Rotating electrical machines. Built in thermal protection. Thermal detector and control units used in thermal protection systems
Даты и сроки
Дата издания:
02-24-89
Дата введения в действие:
01-01-90
Дата завершения срока действия:
-
Применение и описание
Область и условия применения:
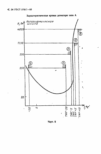
Настоящий стандарт распространяется на вращающиеся электрические машины со встроенной температурной защитой
Связи и замены
Заменяющий:
-
Описание стандарта
ГОСТ 27917-88 Машины электрические вращающиеся. Встроенная температурная защита. Термодетекторы и вспомогательная аппаратура управления, используемые в системах температурной защиты
Страницы стандарта





































