ГОСТ 19438.1-74 Лампы приемно-усилительные и генераторные мощностью, продолжительно рассеиваемой анодом, до 25 Вт. Методы измерения динамического коэффициента усиления и асимметрии усиления на низкой частоте
ГОСТ
Скачать ГОСТ в PDF или DOC бесплатно
Основная информация
Обозначение:
ГОСТ 19438.1-74
Статус:
Действует
Тип:
ГОСТ
Название русское:
Лампы приемно-усилительные и генераторные мощностью, продолжительно рассеиваемой анодом, до 25 Вт. Методы измерения динамического коэффициента усиления и асимметрии усиления на низкой частоте
Название английское:
Receiving amplifier and transmitting tubes with power to 25 watt continuously scattered by anode. Measurement methods of dynamic amplification factor and amplificating asymmetri at LF
Даты и сроки
Дата издания:
04-04-74
Дата введения в действие:
06-30-75
Дата завершения срока действия:
-
Применение и описание
Область и условия применения:
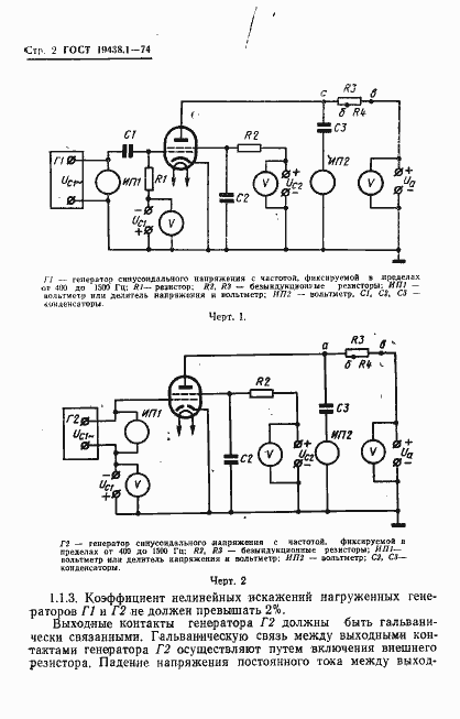
Настоящий стандарт распространяется на электронные, выпрямительные и генераторные лампы мощностью, продолжительно рассеиваемой анодом, до 25 Вт и устанавливает методы измерения динамического коэффициента усиления и асимметрии усиления в диапазоне частот от 400 до 1500 Гц с относительной погрешностью измерения не более 10%. Применение данных методов измерения предусматривается стандартами или техническими условиями, утвержденными в установленном порядке, на лампы конкретных типов
Связи и замены
Заменяющий:
-
Взамен:
ГОСТ 8105-56
Изменения и переиздания
Список изменений:
№0 от (рег. ) «Восстановлен на территории СНГ» №0 от (рег. ) «Текстовое изменение; Изменено заглавие» №1 от (рег. ) «Срок действия продлен»
Описание стандарта
ГОСТ 19438.1-74 Лампы приемно-усилительные и генераторные мощностью, продолжительно рассеиваемой анодом, до 25 Вт. Методы измерения динамического коэффициента усиления и асимметрии усиления на низкой частоте
Страницы стандарта










