ГОСТ 21106.4-76 Лампы модуляторные импульсные мощностью, рассеиваемой анодом, свыше 25 Вт. Метод испытания на электрическую прочность
ГОСТ
Скачать ГОСТ в PDF или DOC бесплатно
Основная информация
Обозначение:
ГОСТ 21106.4-76
Статус:
Действует
Тип:
ГОСТ
Название русское:
Лампы модуляторные импульсные мощностью, рассеиваемой анодом, свыше 25 Вт. Метод испытания на электрическую прочность
Название английское:
Modulator flash tubes with anode dissipation above 25 W. Method of electric strength test
Даты и сроки
Дата издания:
03-01-83
Дата введения в действие:
01-01-78
Дата завершения срока действия:
-
Применение и описание
Область и условия применения:
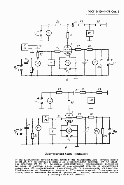
Настоящий стандарт распространяется на импульсные модуляторные лампы мощностью, рассеиваемой анодом, свыше 25 Вт и устанавливает метод испытания ламп на электрическую прочность
Связи и замены
Заменяющий:
-
Изменения и переиздания
Список изменений:
№0 от (рег. ) «Восстановлен на территории СНГ» №0 от (рег. ) «Текстовое изменение; Изменено заглавие» №0 от (рег. ) «Срок действия продлен» №1 от (рег. ) «Срок действия продлен» №2 от (рег. ) «Срок действия продлен» №3 от (рег. ) «Срок действия продлен»
Описание стандарта
ГОСТ 21106.4-76 Лампы модуляторные импульсные мощностью, рассеиваемой анодом, свыше 25 Вт. Метод испытания на электрическую прочность
Страницы стандарта








