ГОСТ 8106-70 Лампы электронные маломощные. Методы испытаний на внутриламповые замыкания и обрывы
ГОСТ
Скачать ГОСТ в PDF или DOC бесплатно
Основная информация
Обозначение:
ГОСТ 8106-70
Статус:
Действует
Тип:
ГОСТ
Название русское:
Лампы электронные маломощные. Методы испытаний на внутриламповые замыкания и обрывы
Название английское:
Low-power vacuum valves. Methods of internal shorts and breaks tests
Даты и сроки
Дата издания:
04-01-84
Дата введения в действие:
01-01-71
Дата завершения срока действия:
-
Применение и описание
Область и условия применения:
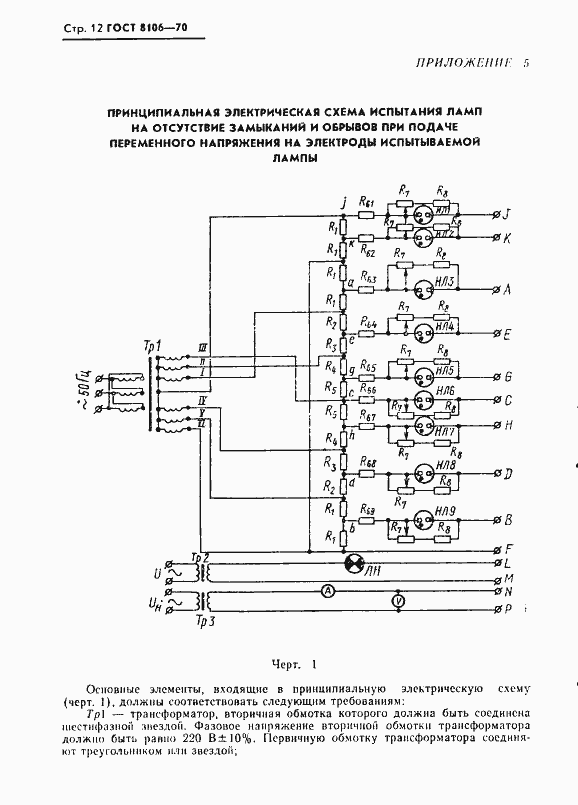
Настоящий стандарт распространяется на лампы электронные мощностью рассеиваемой анодом, до 25 Вт и устанавливает: метод механического возбуждения; метод индикации при постоянных напряжения на электродах испытываемой лампы с запоминающими индикаторами; метод индикации при переменных напряжениях на электродах испытываемой лампы
Связи и замены
Заменяющий:
-
Взамен:
ГОСТ 8106-56
Изменения и переиздания
Список изменений:
№2 от (рег. ) «Срок действия продлен» №3 от (рег. ) «Срок действия продлен» №4 от (рег. ) «Срок действия продлен»
Описание стандарта
ГОСТ 8106-70 Лампы электронные маломощные. Методы испытаний на внутриламповые замыкания и обрывы
Страницы стандарта
















