ГОСТ 24354-80 Индикаторы знакосинтезирующие полупроводниковые. Основные размеры
ГОСТ
Скачать ГОСТ в PDF или DOC бесплатно
Основная информация
Обозначение:
ГОСТ 24354-80
Статус:
Действует
Тип:
ГОСТ
Название русское:
Индикаторы знакосинтезирующие полупроводниковые. Основные размеры
Название английское:
Semiconductor character displays. Basic dimensions
Даты и сроки
Дата издания:
06-01-90
Дата введения в действие:
01-01-82
Дата завершения срока действия:
-
Применение и описание
Область и условия применения:
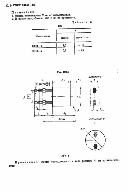
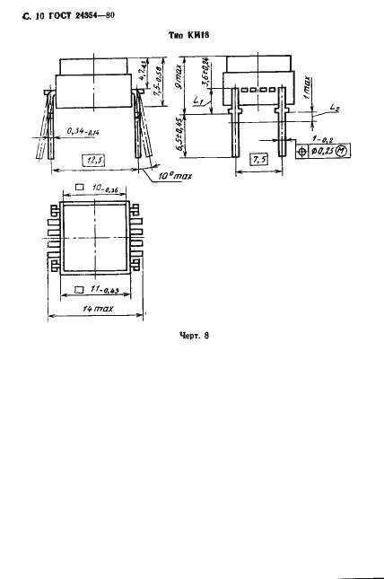
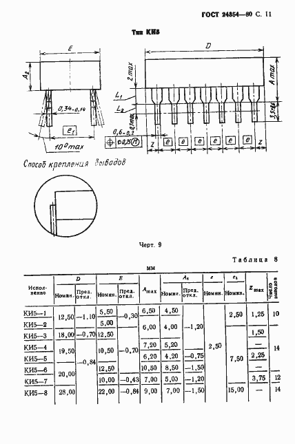
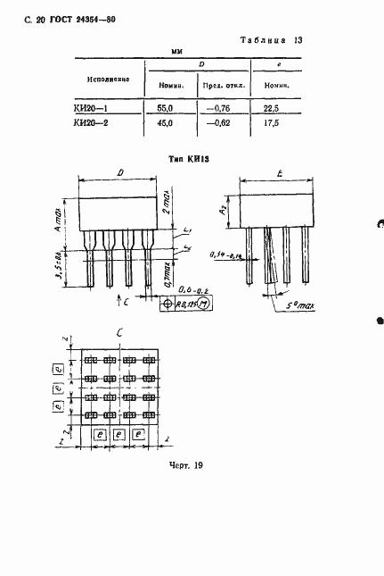
Настоящий стандарт распространяется на полупроводниковые знакосинтезирующие индикаторы и устанавливает типы корпусов, габаритные и присоединительные размеры индикаторов, высоту знаков и элементов отображения шкальных индикаторов, шаги между знаками, элементами отображения шкальных индикаторов и модулей экрана
Связи и замены
Заменяющий:
-
Изменения и переиздания
Список изменений:
№1 от (рег. ) «Поправка»
Описание стандарта
ГОСТ 24354-80 Индикаторы знакосинтезирующие полупроводниковые. Основные размеры
Страницы стандарта

























