ГОСТ Р 56427-2015 Пайка электронных модулей радиоэлектронных средств. Автоматизированный смешанный и поверхностный монтаж с применением бессвинцовой и традиционной технологий. Технические требования к выполнению технологических операций
ГОСТ Р
Скачать ГОСТ в PDF или DOC бесплатно
Основная информация
Обозначение:
ГОСТ Р 56427-2015
Статус:
Заменен
Тип:
ГОСТ Р
Название русское:
Пайка электронных модулей радиоэлектронных средств. Автоматизированный смешанный и поверхностный монтаж с применением бессвинцовой и традиционной технологий. Технические требования к выполнению технологических операций
Название английское:
Soldering of electronic modules of radio-electronic means. Automated mixed and surface mounting using lead-free and conventional technology. Technical requirements for the implementation of technological operations
Даты и сроки
Дата издания:
10-16-15
Дата введения в действие:
09-01-15
Дата завершения срока действия:
12-01-22
Применение и описание
Область и условия применения:
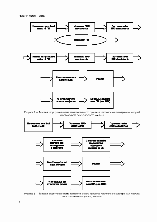
Настоящий стандарт распространяется на электронные модули радиоэлектронных средств и устанавливает технические требования к выполнению технологических операций пайки электронных модулей радиоэлектронных средств при автоматизированном смешанном и поверхностном монтаже с применением бессвинцовой и традиционной технологии. Требования настоящего стандарта предназначены для использования всеми изготовителями и распространяются на изделия, поставляемые контрагентами
Связи и замены
Заменяющий:
ГОСТ Р 56427-2022
Описание стандарта
ГОСТ Р 56427-2015 Пайка электронных модулей радиоэлектронных средств. Автоматизированный смешанный и поверхностный монтаж с применением бессвинцовой и традиционной технологий. Технические требования к выполнению технологических операций
Страницы стандарта

































