ГОСТ 22375-77 Лепестки двусторонние, закрепляемые винтами или заклепками. Конструкция и размеры
ГОСТ
Скачать ГОСТ в PDF или DOC бесплатно
Основная информация
Обозначение:
ГОСТ 22375-77
Статус:
Действует
Тип:
ГОСТ
Название русское:
Лепестки двусторонние, закрепляемые винтами или заклепками. Конструкция и размеры
Название английское:
Dual-sided leaves fixed by screws and rivets. Design and sizes
Даты и сроки
Дата издания:
03-01-91
Дата введения в действие:
06-30-78
Дата завершения срока действия:
-
Применение и описание
Область и условия применения:
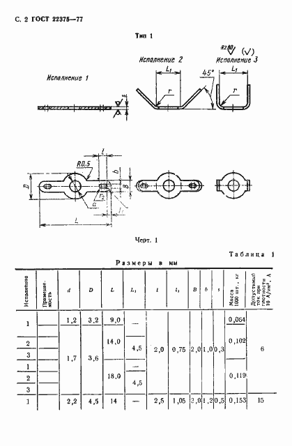
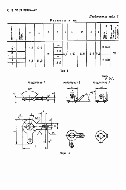
Настоящий стандарт распространяется на двусторонние лепестки, закрепляемые винтами или заклепками, предназначенные для электромонтажа элементов пайкой
Связи и замены
Заменяющий:
-
Изменения и переиздания
Список изменений:
№1 от (рег. ) «Срок действия продлен» №2 от (рег. ) «Срок действия продлен» №3 от (рег. ) «Срок действия продлен» №4 от (рег. ) «Срок действия продлен» №5 от (рег. ) «Срок действия продлен»
Описание стандарта
ГОСТ 22375-77 Лепестки двусторонние, закрепляемые винтами или заклепками. Конструкция и размеры
Страницы стандарта













