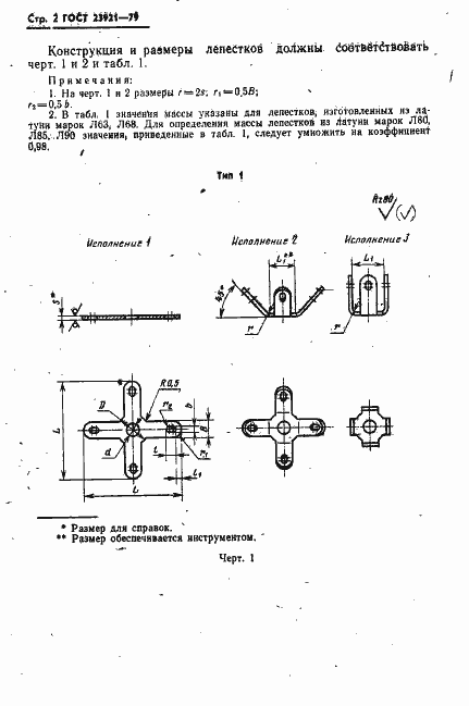
ГОСТ 23921-79 Лепестки четырехсторонние, закрепляемые винтами или заклепками, или опрессовкой. Конструкция и размеры
ГОСТ
Скачать ГОСТ в PDF или DOC бесплатно
Основная информация
Обозначение:
ГОСТ 23921-79
Статус:
Действует
Тип:
ГОСТ
Название русское:
Лепестки четырехсторонние, закрепляемые винтами или заклепками, или опрессовкой. Конструкция и размеры
Название английское:
Quadruple-sided leaves fixed by screws or rivets, or by pressing. Design and size
Даты и сроки
Дата издания:
09-01-80
Дата введения в действие:
01-01-81
Дата завершения срока действия:
-
Применение и описание
Область и условия применения:
Настоящий стандарт распространяется на четырехсторонние лепестки, закрепляемые винтами или заклепками, или опрессовкой, предназначенные для электромонтажа элементов пайкой
Связи и замены
Заменяющий:
-
Изменения и переиздания
Список изменений:
№1 от (рег. ) «Срок действия продлен»
Описание стандарта
ГОСТ 23921-79 Лепестки четырехсторонние, закрепляемые винтами или заклепками, или опрессовкой. Конструкция и размеры
Страницы стандарта







