ГОСТ 4230-93 Ножи садовые. Технические условия
ГОСТ
Скачать ГОСТ в PDF или DOC бесплатно
Основная информация
Обозначение:
ГОСТ 4230-93
Статус:
Действует
Тип:
ГОСТ
Название русское:
Ножи садовые. Технические условия
Название английское:
Garden knives. Specifications
Даты и сроки
Дата регистрации:
10-21-93
Дата издания:
06-13-95
Дата введения в действие:
01-01-95
Дата завершения срока действия:
-
Применение и описание
Область и условия применения:
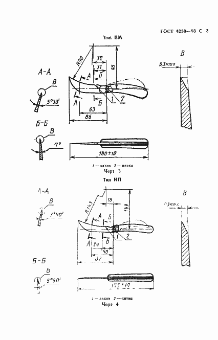
Настоящий стандарт распространяется на содовые ножи, предназначенные для формирования и обрехки кроны деревьев в садах и питомниках
Связи и замены
Заменяющий:
-
Взамен:
ГОСТ 4230-79
Описание стандарта
ГОСТ 4230-93 Ножи садовые. Технические условия
Страницы стандарта











