ГОСТ 20680-86 Аппараты с механическими перемешивающими устройствами вертикальные. Общие технические требования
ГОСТ
Скачать ГОСТ в PDF или DOC бесплатно
Основная информация
Обозначение:
ГОСТ 20680-86
Статус:
Заменен
Тип:
ГОСТ
Название русское:
Аппараты с механическими перемешивающими устройствами вертикальные. Общие технические требования
Название английское:
Vertical apparatus with mechanical agitating devices. General technical requirements
Даты и сроки
Дата издания:
06-01-92
Дата введения в действие:
01-01-88
Дата завершения срока действия:
07-01-03
Применение и описание
Область и условия применения:
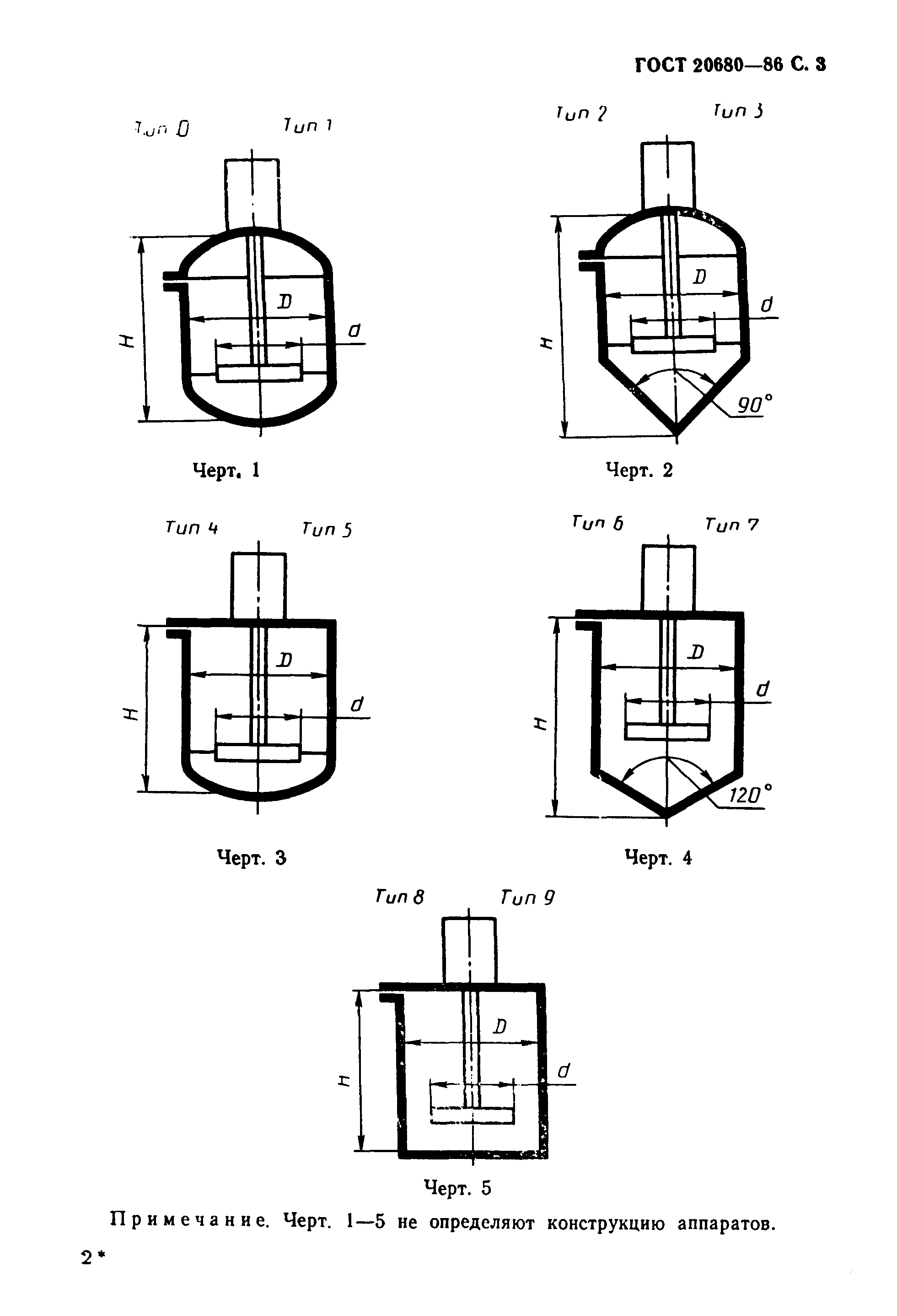
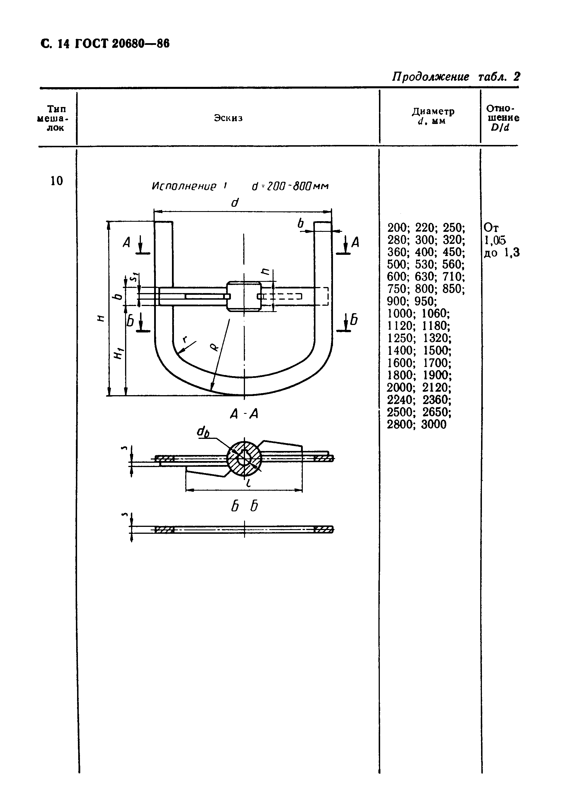
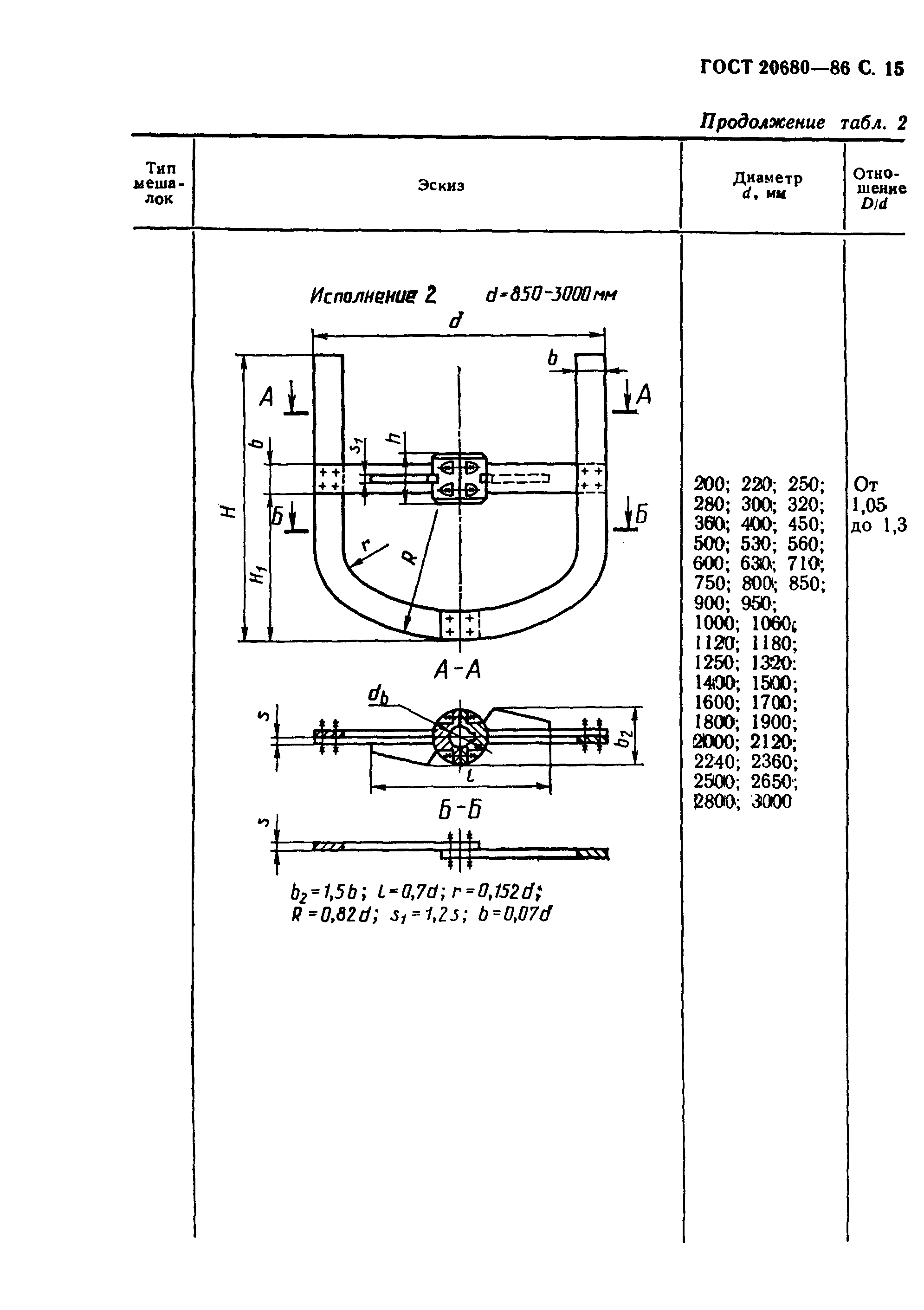
Настоящий стандарт распространяется на вертикальные сварные аппараты из стали, цветных металлов и сплавов объемом от 0,01 до 100 м куб. с механическими перемешивающими устройствами и верхним расположением приводов, предназначенные для проведения различных физико-химических процессов в жидких средах плотностью до 2000 кг/м куб. и динамической вязкостью не более 200 Па.с, при температуре рабочей среды от минус 40 до плюс 350 град. С и рабочем избыточном давлении не более 6,3 МПа. Стандарт распространяется также на гуммированные аппараты объемом от 1 до 16 м куб. в части изготовления металлических конструкций, аппараты, работающие при отсутствии давления (открытые) и под вакуумом с остаточным давлением не ниже 665 Па. Стандарт не распространяется на аппараты с эмалевым покрытием и аппараты, изготовленные из чугуна и неметаллических материалов, а также обогреваемые топочными газами или открытым пламенем
Связи и замены
Заменяющий:
ГОСТ 20680-2002
Взамен:
ГОСТ 20680-75
Изменения и переиздания
Список изменений:
№1 от (рег. ) «Срок действия продлен»
Описание стандарта
ГОСТ 20680-86 Аппараты с механическими перемешивающими устройствами вертикальные. Общие технические требования
Страницы стандарта

































