ГОСТ 27346-87 Изделия замочно-скобяные. Термины и определения
ГОСТ
Скачать ГОСТ в PDF или DOC бесплатно
Основная информация
Обозначение:
ГОСТ 27346-87
Статус:
Заменен
Тип:
ГОСТ
Название русское:
Изделия замочно-скобяные. Термины и определения
Название английское:
Hardware. Terms and definitions
Даты и сроки
Дата издания:
02-01-88
Дата введения в действие:
06-30-87
Дата завершения срока действия:
07-01-15
Применение и описание
Область и условия применения:
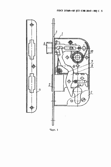
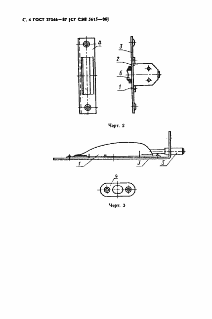
Настоящий стандарт устанавливает основные термины и определения понятий замочно-скобяных изделий, применяемых в строительстве
Связи и замены
Заменяющий:
ГОСТ 538-2014
Описание стандарта
ГОСТ 27346-87 Изделия замочно-скобяные. Термины и определения
Страницы стандарта










