ГОСТ Р 8.857-2013 Государственная система обеспечения единства измерений. рН-метры. Методика поверки
ГОСТ Р
Скачать ГОСТ в PDF или DOC бесплатно
Основная информация
Обозначение:
ГОСТ Р 8.857-2013
Статус:
Действует
Тип:
ГОСТ Р
Название русское:
Государственная система обеспечения единства измерений. рН-метры. Методика поверки
Название английское:
State system for ensuring the uniformity of measurements. pH-meters. Verification procedure
Даты и сроки
Дата издания:
04-02-19
Дата введения в действие:
01-01-15
Дата завершения срока действия:
-
Применение и описание
Область и условия применения:
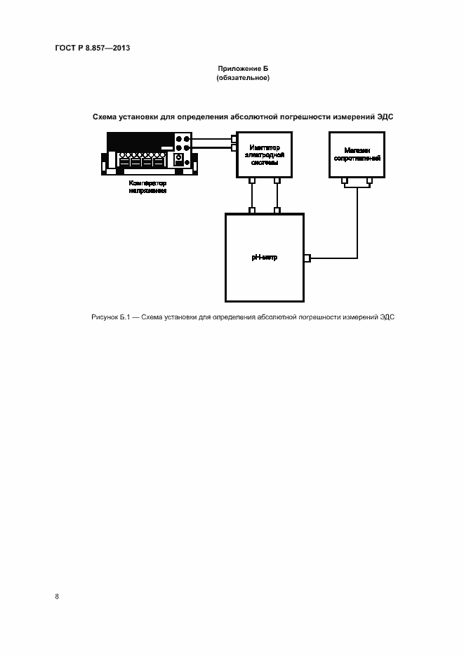
Настоящий стандарт устанавливает методы и средства первичной и периодической поверок рН - метров, состоящих из электродов, датчиков температуры и измерительных преобразователей (ИП), и предназначенных для измерений показателя активности ионов водорода (рН) и температуры контролируемых водных растворов.Поверке подвергают рН-метры, прошедшие испытания в целях утверждения типа, выпускаемые из производства, выходящие из ремонта и находящиеся в эксплуатации в порядке, предусмотренном правилами по метрологии [1]
Связи и замены
Заменяющий:
-
Описание стандарта
ГОСТ Р 8.857-2013 Государственная система обеспечения единства измерений. рН-метры. Методика поверки
Страницы стандарта











