ГОСТ Р 56750-2015 Аппаратура для измерения электрической энергии переменного тока. Частные требования. Счетчики электрической энергии с аналоговыми входами, подключаемые к маломощным датчикам, используемым в качестве трансформаторов напряжения и тока
ГОСТ Р
Скачать ГОСТ в PDF или DOC бесплатно
Основная информация
Обозначение:
ГОСТ Р 56750-2015
Статус:
Действует
Тип:
ГОСТ Р
Название русское:
Аппаратура для измерения электрической энергии переменного тока. Частные требования. Счетчики электрической энергии с аналоговыми входами, подключаемые к маломощным датчикам, используемым в качестве трансформаторов напряжения и тока
Название английское:
Electricity metering equipment (a.c.). Particular requirements. Meters with analog inputs connected to the low-power sensor (electronic transformers) of voltage and current
Даты и сроки
Дата издания:
07-15-19
Дата введения в действие:
12-01-16
Дата завершения срока действия:
-
Применение и описание
Область и условия применения:
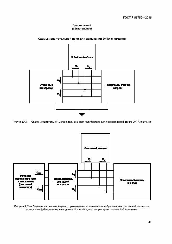
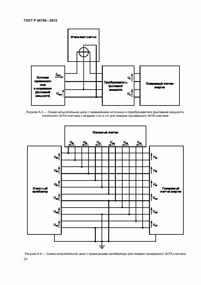
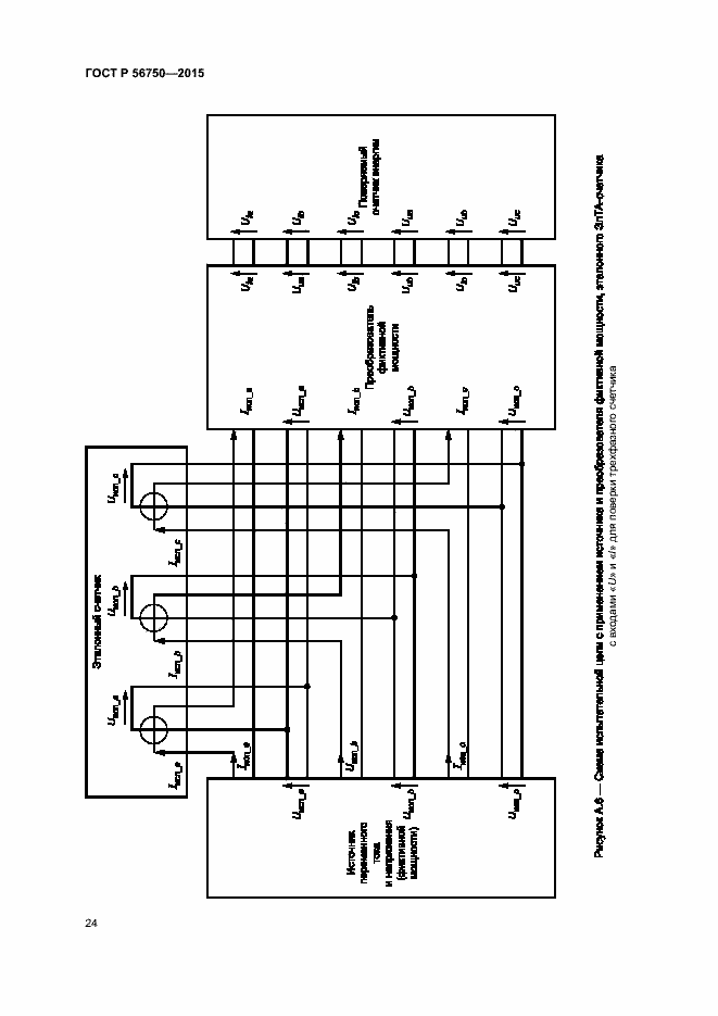
Настоящий стандарт распространяется на счетчики электрической энергии с аналоговыми входами, подключаемые к электронным трансформаторам напряжения и тока, классов точности 0,2S и 0,5S для измерения активной энергии и классов точности 1 и 2 для измерения реактивной энергии в сетях переменного тока частотой 50 или 60 Гц, и устанавливает требования к производству и испытаниям ЭлТА-счетчиков. Настоящий стандарт устанавливает дополнительные (отсутствующие в ГОСТ 31818.11) технические условия и требования к методам испытания на ЭлТА-счетчики, получающие сигналы измерительной информации от первичных датчиков тока (по ГОСТ Р МЭК 60044-8) и напряжения (по ГОСТ Р МЭК 60044-7), используемым без вторичных конвертеров
Связи и замены
Заменяющий:
-
Описание стандарта
ГОСТ Р 56750-2015 Аппаратура для измерения электрической энергии переменного тока. Частные требования. Счетчики электрической энергии с аналоговыми входами, подключаемые к маломощным датчикам, используемым в качестве трансформаторов напряжения и тока
Страницы стандарта































