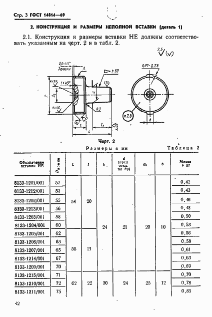
ГОСТ 14814-69 Калибры-пробки гладкие непроходные с неполными вставками диаметром свыше 50 до 75 мм. Конструкция и размеры
ГОСТ
Скачать ГОСТ в PDF или DOC бесплатно
Основная информация
Обозначение:
ГОСТ 14814-69
Статус:
Действует
Тип:
ГОСТ
Название русское:
Калибры-пробки гладкие непроходные с неполными вставками диаметром свыше 50 до 75 мм. Конструкция и размеры
Название английское:
No-go plain plug gauges with inserts of not full-form with diameter over 50 to 75 mm. Design and dimensions
Даты и сроки
Дата издания:
04-01-85
Дата введения в действие:
01-01-71
Дата завершения срока действия:
-
Применение и описание
Область и условия применения:
Настоящий стандарт распространяется на калибры-пробки гладкие, предназначенные для контроля отверстий с полями допусков по ЕСДП 6-9-го квалитетов и с полями допусков по системе ОСТ 1-3-го классов точности
Связи и замены
Заменяющий:
-
Взамен:
МН 4127-62
Изменения и переиздания
Список изменений:
№1 от (рег. ) «Срок действия продлен» №2 от (рег. ) «Срок действия продлен» №3 от (рег. ) «Срок действия продлен»
Описание стандарта
ГОСТ 14814-69 Калибры-пробки гладкие непроходные с неполными вставками диаметром свыше 50 до 75 мм. Конструкция и размеры
Страницы стандарта





