ГОСТ 24111-80 Калибры-пробки шпоночные диаметром св. 18 до 56 мм. Конструкция и размеры
ГОСТ
Скачать ГОСТ в PDF или DOC бесплатно
Основная информация
Обозначение:
ГОСТ 24111-80
Статус:
Действует
Тип:
ГОСТ
Название русское:
Калибры-пробки шпоночные диаметром св. 18 до 56 мм. Конструкция и размеры
Название английское:
Keyway plug gauges with diameter over 18 to 56 mm. Design and dimensions
Даты и сроки
Дата издания:
07-01-93
Дата введения в действие:
01-01-81
Дата завершения срока действия:
-
Применение и описание
Область и условия применения:
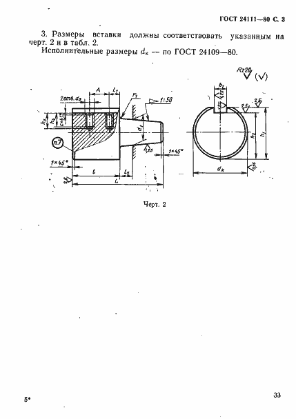
Настоящий стандарт распространяется на комплексные калибры-пробки для контроля шпоночных пазов во втулках по ГОСТ 23360-78, ГОСТ 24068-80 и ГОСТ 24071-80
Связи и замены
Заменяющий:
-
Изменения и переиздания
Список изменений:
№1 от (рег. ) «Срок действия продлен»
Описание стандарта
ГОСТ 24111-80 Калибры-пробки шпоночные диаметром св. 18 до 56 мм. Конструкция и размеры
Страницы стандарта









