ГОСТ 24853-81 Калибры гладкие для размеров до 500 мм. Допуски
ГОСТ
Скачать ГОСТ в PDF или DOC бесплатно
Основная информация
Обозначение:
ГОСТ 24853-81
Статус:
Действует
Тип:
ГОСТ
Название русское:
Калибры гладкие для размеров до 500 мм. Допуски
Название английское:
Plain gauges for dimensions to 500 mm. Tolerances
Даты и сроки
Дата издания:
10-01-03
Дата введения в действие:
01-01-83
Дата завершения срока действия:
-
Применение и описание
Область и условия применения:
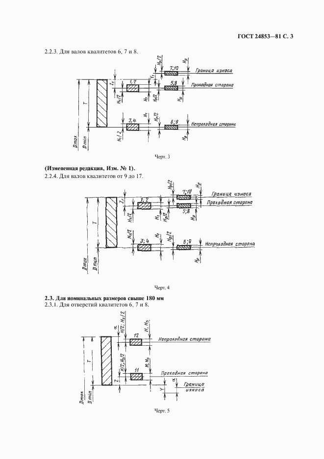
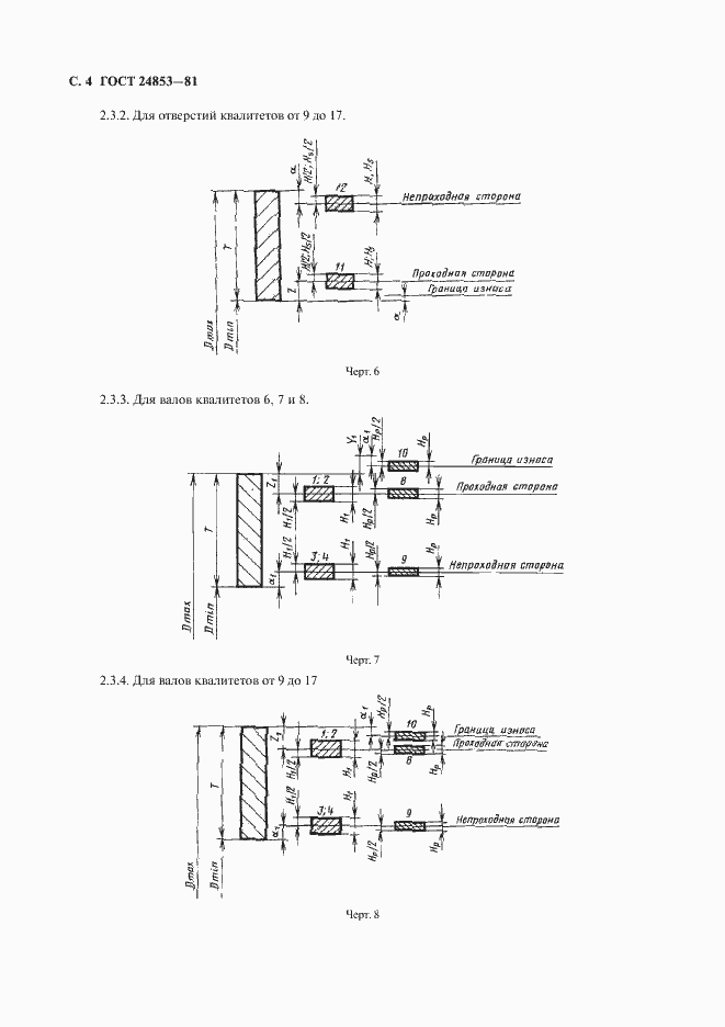
Настоящий стандарт распространяется на предельные гладкие калибры для контроля отверстий и валов (внутренних и наружных размеров) с номинальными размерами от 500 мм и с допусками по ГОСТ 25347, а также контрольные калибры
Связи и замены
Заменяющий:
-
Изменения и переиздания
Список изменений:
№1 от (рег. ) «Срок действия продлен»
Описание стандарта
ГОСТ 24853-81 Калибры гладкие для размеров до 500 мм. Допуски
Страницы стандарта









