ГОСТ 24932-81 Калибры для конических соединений. Допуски
ГОСТ
Скачать ГОСТ в PDF или DOC бесплатно
Основная информация
Обозначение:
ГОСТ 24932-81
Статус:
Действует
Тип:
ГОСТ
Название русское:
Калибры для конических соединений. Допуски
Название английское:
Gauges for tapered joints. Tolerances
Даты и сроки
Дата издания:
05-01-03
Дата введения в действие:
01-01-82
Дата завершения срока действия:
-
Применение и описание
Область и условия применения:
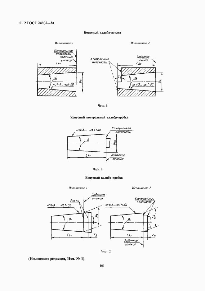
Настоящий стандарт распространяется на калибры для гладких конусов с раздельным нормированием каждого вида допусков, с диаметрами в заданном сечении до 200 мм, конусностью от 1:3 до 1:50, с допусками диаметров от 6 до 12 квалитета, допусками углов конусов от 4 до 9 степени точности и устанавливает: виды и исполнения, формулы для определения размеров, допуски и комплектность калибров
Связи и замены
Заменяющий:
-
Изменения и переиздания
Список изменений:
№1 от (рег. ) «Срок действия продлен»
Описание стандарта
ГОСТ 24932-81 Калибры для конических соединений. Допуски
Страницы стандарта











Приложение №2: Поправка к ГОСТ 24932-81 Обозначение: Поправка к ГОСТ 24932-81 Дата введения в действие: 04.12.2024
