ГОСТ 24998-81 Калибры для конической резьбы вентилей и баллонов для газов. Допуски
ГОСТ
Скачать ГОСТ в PDF или DOC бесплатно
Основная информация
Обозначение:
ГОСТ 24998-81
Статус:
Действует
Тип:
ГОСТ
Название русское:
Калибры для конической резьбы вентилей и баллонов для газов. Допуски
Название английское:
Gauges for tapes thread of valves and gas-bags. Tolerances
Даты и сроки
Дата издания:
07-01-03
Дата введения в действие:
01-01-83
Дата завершения срока действия:
-
Применение и описание
Область и условия применения:
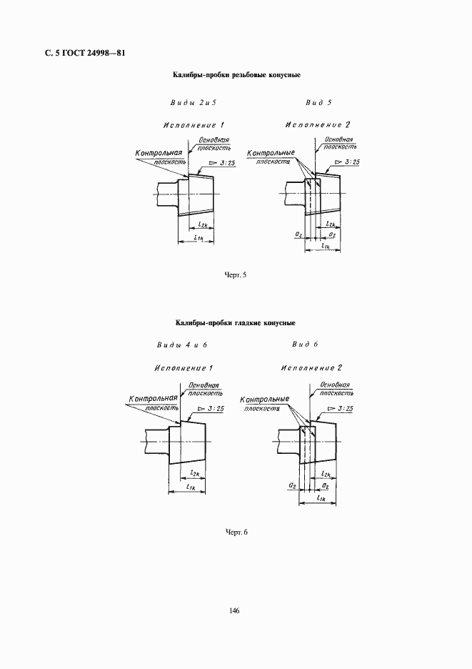
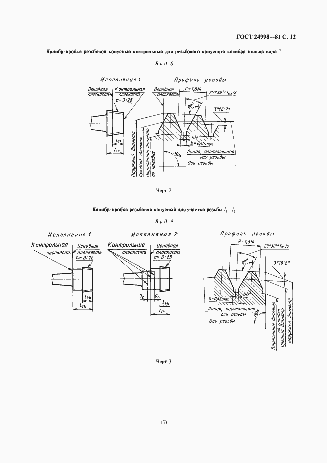
Настоящий стандарт распространяется на резьбовые и гладкие калибры для конической резьбы вентилей и баллонов для газов и устанавливает виды калибров, профиль, длину рабочей части, допуски и формулы для расчета размеров резьбовых и гладких калибров
Связи и замены
Заменяющий:
-
Взамен в части:
ГОСТ 9909-70 в части калибров
Изменения и переиздания
Список изменений:
№1 от (рег. ) «Срок действия продлен»
Описание стандарта
ГОСТ 24998-81 Калибры для конической резьбы вентилей и баллонов для газов. Допуски
Страницы стандарта












