ГОСТ 28094-89 Калибры для круглой резьбы. Допуски
ГОСТ
Скачать ГОСТ в PDF или DOC бесплатно
Основная информация
Обозначение:
ГОСТ 28094-89
Статус:
Действует
Тип:
ГОСТ
Название русское:
Калибры для круглой резьбы. Допуски
Название английское:
Gauges for tool cir cled tread. Tolerances
Даты и сроки
Дата издания:
08-22-89
Дата введения в действие:
01-01-90
Дата завершения срока действия:
-
Применение и описание
Область и условия применения:
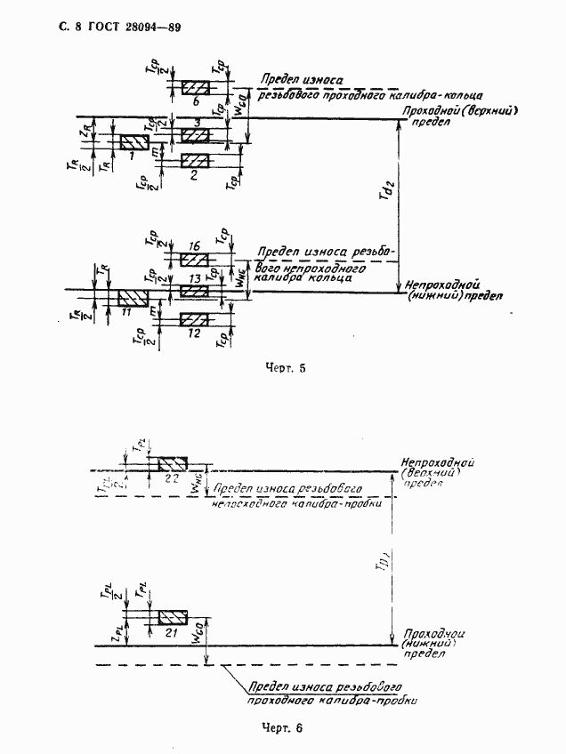
Настоящий стандарт распространяется на резьбовые и гладкие калибры для контроля круглой резьбы с профилем и основными размерами по СТ СЭВ 3293 и допусками по СТ СЭВ 3962 и устанавливает виды калибров, профиль резьбы, длину рабочей части, допуски и формулы для расчета размеров резьбовых и гладких калибров
Связи и замены
Заменяющий:
-
Описание стандарта
ГОСТ 28094-89 Калибры для круглой резьбы. Допуски
Страницы стандарта


















