ГОСТ 8.376-80 Государственная система обеспечения единства измерений. Эвольвентомеры универсальные. Методы и средства поверки
ГОСТ
Скачать ГОСТ в PDF или DOC бесплатно
Основная информация
Обозначение:
ГОСТ 8.376-80
Статус:
Действует
Тип:
ГОСТ
Название русское:
Государственная система обеспечения единства измерений. Эвольвентомеры универсальные. Методы и средства поверки
Название английское:
State system for ensuring the uniformity of measurements. Universal instruments for measuring cvolvents. Methods and means of verification
Даты и сроки
Дата издания:
06-04-80
Дата введения в действие:
06-30-81
Дата завершения срока действия:
-
Применение и описание
Область и условия применения:
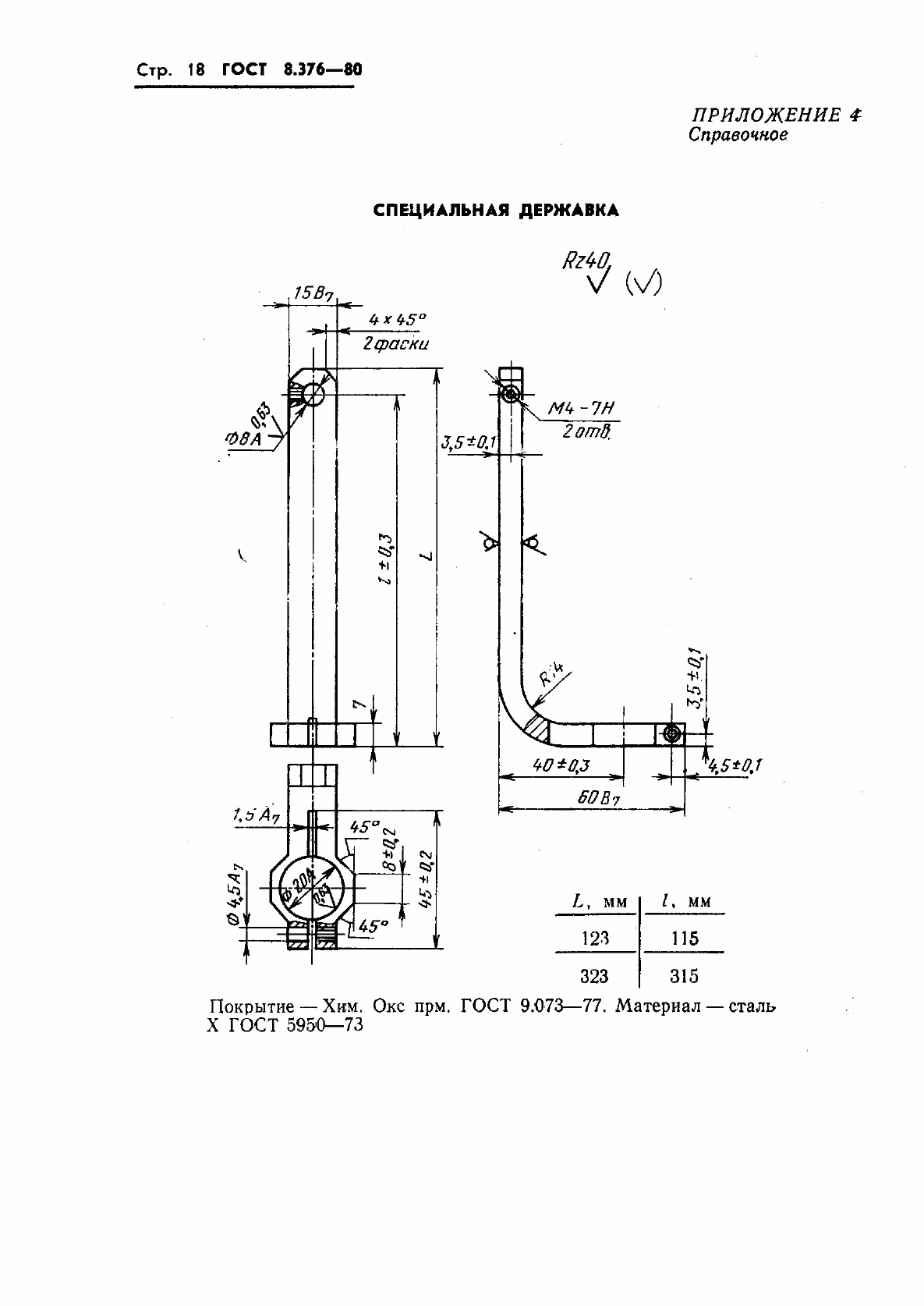
Настоящий стандарт распространяется на универсальные эвольвентомеры типов КЭУ, КЭУ-СМА, КЭУ-СМБ и КЭУ-М и устанавливает методы и средства из первичной и периодической поверок
Связи и замены
Заменяющий:
-
Взамен:
МУ 239
Описание стандарта
ГОСТ 8.376-80 Государственная система обеспечения единства измерений. Эвольвентомеры универсальные. Методы и средства поверки
Страницы стандарта























