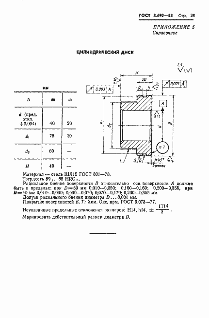
ГОСТ 8.490-83 Государственная система обеспечения единства измерений. Приборы для измерения межосевого расстояния зубчатых колес. Методика поверки
ГОСТ
Скачать ГОСТ в PDF или DOC бесплатно
Основная информация
Обозначение:
ГОСТ 8.490-83
Статус:
Действует
Тип:
ГОСТ
Название русское:
Государственная система обеспечения единства измерений. Приборы для измерения межосевого расстояния зубчатых колес. Методика поверки
Название английское:
State system for ensuring the uniformity of measurements. Instruments for measurements of gear interaxial distance. Methods of verification
Даты и сроки
Дата издания:
10-01-86
Дата введения в действие:
06-30-84
Дата завершения срока действия:
-
Применение и описание
Область и условия применения:
Настоящий стандарт распространяется на приборы для измерения межосевого расстояния зубчатых колес (далее - межосемеры) типоразмеров S01, S02 и S01 (по ГОСТ 10387-81 и ГОСТ 5368-81) и устанавливает методику их первичной и периодической поверок
Связи и замены
Заменяющий:
-
Взамен:
МУ 338;МУ 339;МУ 340
Изменения и переиздания
Список изменений:
№1 от (рег. ) «Поправка»
Описание стандарта
ГОСТ 8.490-83 Государственная система обеспечения единства измерений. Приборы для измерения межосевого расстояния зубчатых колес. Методика поверки
Страницы стандарта























