ГОСТ 8898-78 Подпятники для измерительных приборов. Общие технические условия
ГОСТ
Скачать ГОСТ в PDF или DOC бесплатно
Основная информация
Обозначение:
ГОСТ 8898-78
Статус:
Действует
Тип:
ГОСТ
Название русское:
Подпятники для измерительных приборов. Общие технические условия
Название английское:
Step-bearing for measuring instruments. General specifications
Даты и сроки
Дата издания:
06-01-87
Дата введения в действие:
01-01-79
Дата завершения срока действия:
-
Применение и описание
Область и условия применения:
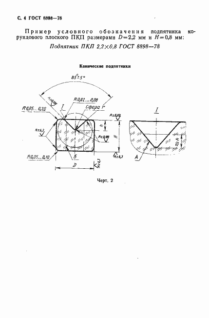
Настоящий стандарт распространяется на подпятники, применяемые в качестве опор в измерительных приборах
Связи и замены
Заменяющий:
-
Взамен:
ГОСТ 8898-68
Изменения и переиздания
Список изменений:
№0 от (рег. ) «Срок действия продлен» №1 от (рег. ) «Срок действия продлен»
Описание стандарта
ГОСТ 8898-78 Подпятники для измерительных приборов. Общие технические условия
Страницы стандарта














