ГОСТ 25575-2014 Калибры для соединений с трапецеидальной резьбой обсадных труб и муфт к ним. Типы и основные размеры
ГОСТ
Скачать ГОСТ в PDF или DOC бесплатно
Основная информация
Обозначение:
ГОСТ 25575-2014
Статус:
Действует
Тип:
ГОСТ
Название русское:
Калибры для соединений с трапецеидальной резьбой обсадных труб и муфт к ним. Типы и основные размеры
Название английское:
Gauges for trapezoidal thread connections for casing pipes with couplings. Types and basic dimensions
Даты и сроки
Дата регистрации:
06-25-14
Дата издания:
03-15-19
Дата введения в действие:
12-01-15
Дата завершения срока действия:
-
Применение и описание
Область и условия применения:
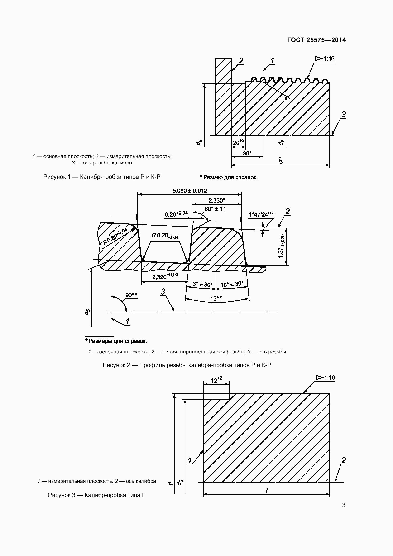
Настоящий стандарт распространяется на контрольные и рабочие конические резьбовые и гладкие калибры, предназначенные для контроля трапецеидальной резьбы и уплотнительных поверхностей резьбовых соединений обсадных труб и муфт к ним типов ОТТМ, ОТТГ и труб типа ТБО
Связи и замены
Заменяющий:
-
Взамен:
ГОСТ 25575-83
Описание стандарта
ГОСТ 25575-2014 Калибры для соединений с трапецеидальной резьбой обсадных труб и муфт к ним. Типы и основные размеры
Страницы стандарта





















Приложение №1: Изменение к ГОСТ 25575-2014. Поправка к изменению Обозначение: Изменение к ГОСТ 25575-2014. Поправка к изменению Дата введения в действие: 05.08.2022

Приложение №2: Изменение №1 к ГОСТ 25575-2014 Обозначение: Изменение №1 к ГОСТ 25575-2014 Дата введения в действие: 01.03.2022

Приложение №2: Изменение №1 к ГОСТ 25575-2014 Обозначение: Изменение №1 к ГОСТ 25575-2014 Дата введения в действие: 01.03.2022

Приложение №2: Изменение №1 к ГОСТ 25575-2014 Обозначение: Изменение №1 к ГОСТ 25575-2014 Дата введения в действие: 01.03.2022

Приложение №3: Поправка к ГОСТ 25575-2014 Обозначение: Поправка к ГОСТ 25575-2014 Дата введения в действие: 27.12.2021
