ГОСТ Р 53090-2008 Основные нормы взаимозаменяемости. Характеристики изделий геометрические. Требования максимума материала, минимума материала и взаимодействия
ГОСТ Р
Скачать ГОСТ в PDF или DOC бесплатно
Основная информация
Обозначение:
ГОСТ Р 53090-2008
Статус:
Действует
Тип:
ГОСТ Р
Название русское:
Основные нормы взаимозаменяемости. Характеристики изделий геометрические. Требования максимума материала, минимума материала и взаимодействия
Название английское:
Basic norms of interchangeability. Geometrical product specifications. Maximum material requirement, least material requirement and reciprocity requirement
Даты и сроки
Дата издания:
03-23-09
Дата введения в действие:
01-01-11
Дата завершения срока действия:
-
Применение и описание
Область и условия применения:
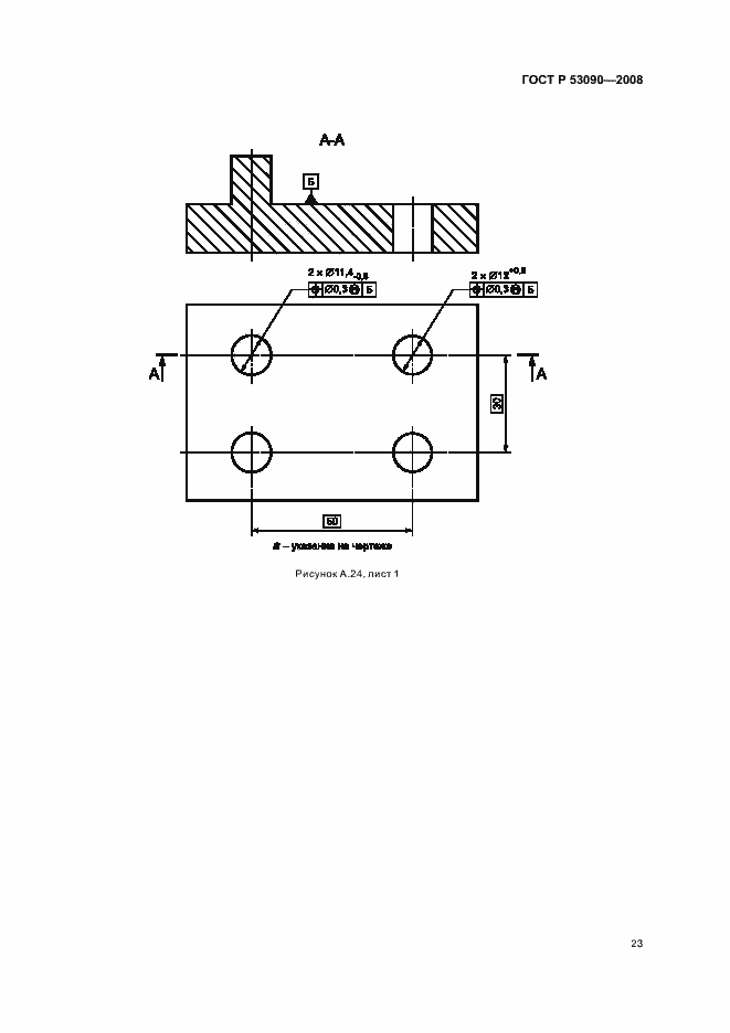
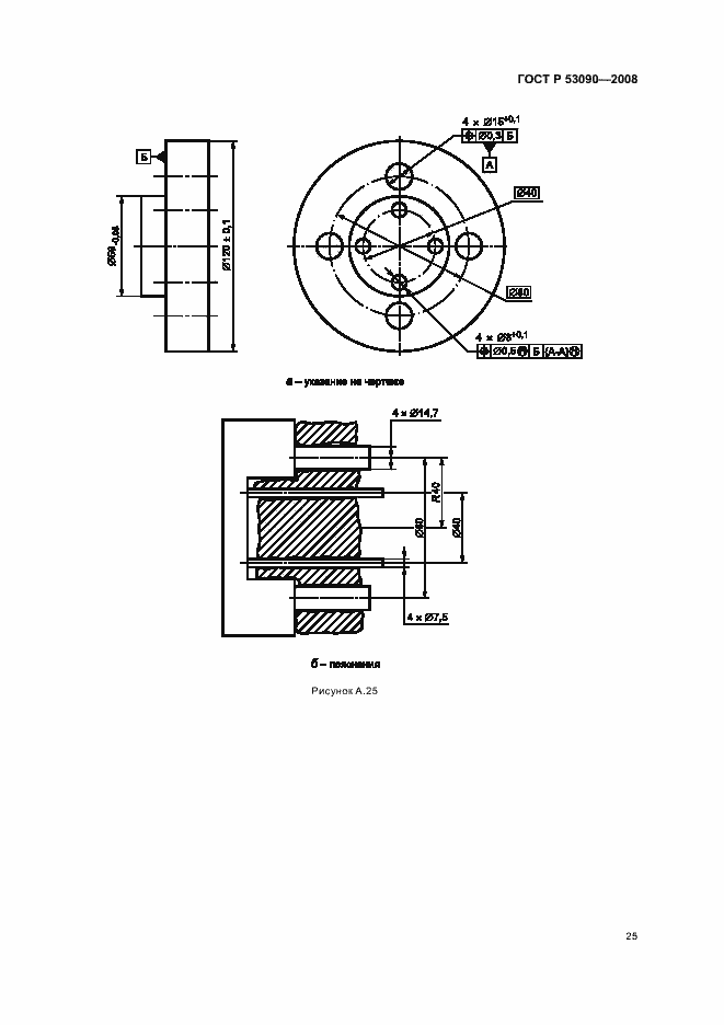
Настоящий стандарт распространяется на нормирование точности деталей и устанавливает содержание и правила указания на чертежах требований максимума материала и взаимодействия при назначении геометрических допусков по ИСО 1101. Настоящий стандарт предназначен для применения при установлении геометрических допусков к таким размерным элементам деталей, как цилиндр или две параллельные друг другу плоскости, когда размерная и геометрическая точность элемента взаимозависимы
Связи и замены
Заменяющий:
-
Описание стандарта
ГОСТ Р 53090-2008 Основные нормы взаимозаменяемости. Характеристики изделий геометрические. Требования максимума материала, минимума материала и взаимодействия
Страницы стандарта































