ГОСТ 8.269-77 Государственная система обеспечения единства измерений. Бюретки измерительные стеклянные для химических неавтоматических газоанализаторов. Методы и средства поверки
ГОСТ
Скачать ГОСТ в PDF или DOC бесплатно
Основная информация
Обозначение:
ГОСТ 8.269-77
Статус:
Действует
Тип:
ГОСТ
Название русское:
Государственная система обеспечения единства измерений. Бюретки измерительные стеклянные для химических неавтоматических газоанализаторов. Методы и средства поверки
Название английское:
State system for ensuring the uniformity of measurements. Measuring glass burettes for chemical non-automatic gas analyzers. Methods and means of verification
Даты и сроки
Дата издания:
01-01-78
Дата введения в действие:
01-01-79
Дата завершения срока действия:
-
Применение и описание
Область и условия применения:
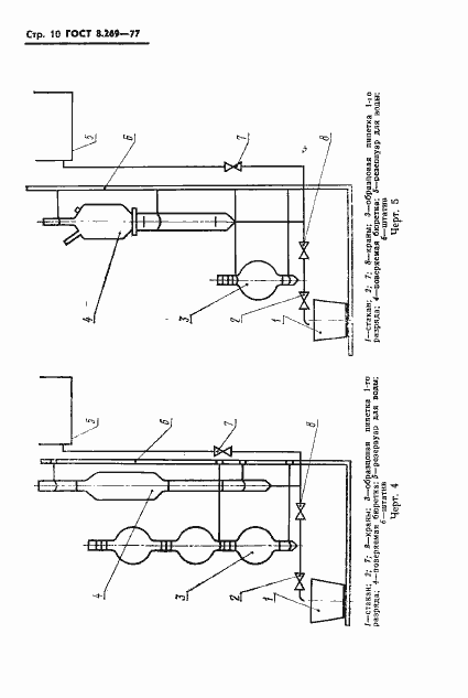
Настоящий стандарт распространяется на стеклянные измерительные бюретки для химических неавтоматических газоанализаторов по ГОСТ 6329-74, ГОСТ 7018-75, ГОСТ 10713-75 и бюретки к аппарату для анализа кислорода и устанавливает методы и средства их поверки при выпуске из производства
Связи и замены
Заменяющий:
-
Взамен:
Инструкция 256-57
Описание стандарта
ГОСТ 8.269-77 Государственная система обеспечения единства измерений. Бюретки измерительные стеклянные для химических неавтоматических газоанализаторов. Методы и средства поверки
Страницы стандарта














