ГОСТ 8.515-84 Государственная система обеспечения единства измерений. Эталонные сигналы частоты и времени, излучаемые специализированными радиостанциями Государственной службы времени, частоты и определения параметров вращения Земли. Временной код
ГОСТ
Скачать ГОСТ в PDF или DOC бесплатно
Основная информация
Обозначение:
ГОСТ 8.515-84
Статус:
Заменен
Тип:
ГОСТ
Название русское:
Государственная система обеспечения единства измерений. Эталонные сигналы частоты и времени, излучаемые специализированными радиостанциями Государственной службы времени, частоты и определения параметров вращения Земли. Временной код
Название английское:
State system of ensuring the uniformity of measurements. Standard frequency and time signals radiated by specialized radio stations of the State service of time, frequency and the Earth rotation parameters determination. Time code
Даты и сроки
Дата издания:
01-31-85
Дата введения в действие:
01-01-86
Дата завершения срока действия:
07-01-17
Применение и описание
Область и условия применения:
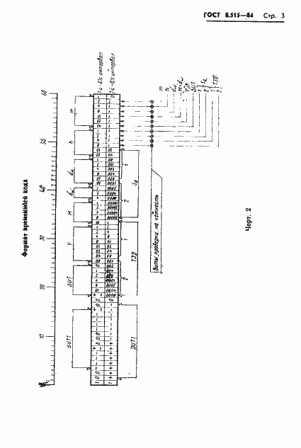
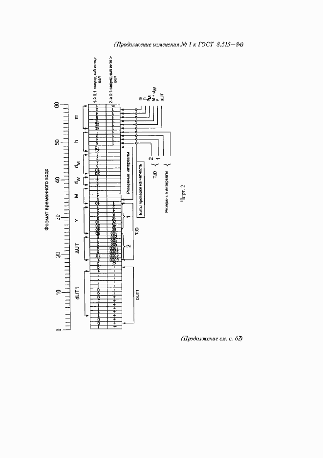
Настоящий стандарт распространяется на эталонные сигналы частоты и времени, излучаемые специализированными радиостанциями Государственной службы времени, частоты и определения параметров вращения Земли, работающими в диапазонах длинных и коротких волн, и устанавливает формат временного кода для передачи информации о значении времени суток, календарной и юлианской датах, разности шкал времени UT1 и UTC
Связи и замены
Заменяющий:
ГОСТ 8.515-2016
Изменения и переиздания
Список изменений:
№0 от (рег. ) «Ограничение срока действия снято» №1 от (рег. ) «Текстовое изменение; Изменено заглавие; Изменены ссылочные НД»
Описание стандарта
ГОСТ 8.515-84 Государственная система обеспечения единства измерений. Эталонные сигналы частоты и времени, излучаемые специализированными радиостанциями Государственной службы времени, частоты и определения параметров вращения Земли. Временной код
Страницы стандарта





















Приложение №1: Изменение к ГОСТ 8.515-84. Поправка к изменению Обозначение: Изменение к ГОСТ 8.515-84. Поправка к изменению Дата введения в действие: 01.10.2006

Приложение №2: Изменение №1 к ГОСТ 8.515-84 Обозначение: Изменение №1 к ГОСТ 8.515-84 Дата введения в действие: 01.07.2006

Приложение №2: Изменение №1 к ГОСТ 8.515-84 Обозначение: Изменение №1 к ГОСТ 8.515-84 Дата введения в действие: 01.07.2006

Приложение №2: Изменение №1 к ГОСТ 8.515-84 Обозначение: Изменение №1 к ГОСТ 8.515-84 Дата введения в действие: 01.07.2006

Приложение №2: Изменение №1 к ГОСТ 8.515-84 Обозначение: Изменение №1 к ГОСТ 8.515-84 Дата введения в действие: 01.07.2006

Приложение №2: Изменение №1 к ГОСТ 8.515-84 Обозначение: Изменение №1 к ГОСТ 8.515-84 Дата введения в действие: 01.07.2006

Приложение №2: Изменение №1 к ГОСТ 8.515-84 Обозначение: Изменение №1 к ГОСТ 8.515-84 Дата введения в действие: 01.07.2006

Приложение №2: Изменение №1 к ГОСТ 8.515-84 Обозначение: Изменение №1 к ГОСТ 8.515-84 Дата введения в действие: 01.07.2006

Приложение №2: Изменение №1 к ГОСТ 8.515-84 Обозначение: Изменение №1 к ГОСТ 8.515-84 Дата введения в действие: 01.07.2006
