ГОСТ 26969-86 Диафрагмы стандартные для расходомеров. Технические условия
ГОСТ
Скачать ГОСТ в PDF или DOC бесплатно
Основная информация
Обозначение:
ГОСТ 26969-86
Статус:
Заменен
Тип:
ГОСТ
Название русское:
Диафрагмы стандартные для расходомеров. Технические условия
Название английское:
Standard orifice plates for flowmeters. Specifications
Даты и сроки
Дата издания:
12-01-85
Дата введения в действие:
06-30-87
Дата завершения срока действия:
10-01-99
Применение и описание
Область и условия применения:
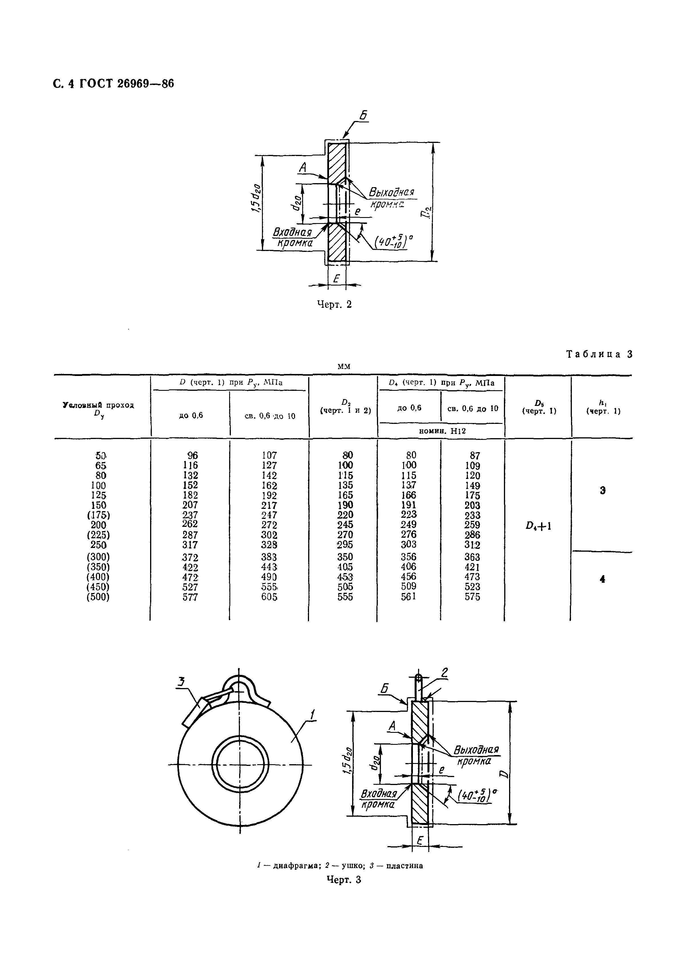
Настоящий стандарт распространяется на стандартные диафрагмы с условным давлением до 32 МПа (320 кгс/см кв.) и условным проходом от 50 до 3000 мм, предназначенные для измерения расхода жидкостей и газов методом переменного перепада давления
Связи и замены
Заменяющий:
ГОСТ 8.563.1-97 (части не конкретизированы); ГОСТ 8.563.2-97 (части не конкретизированы); ГОСТ 8.563.3-97 (части не конкретизированы)
Взамен:
ГОСТ 14321-73;ГОСТ 14322-77
Заменяющий в части:
ГОСТ 8.563.1-97 (части не конкретизированы); ГОСТ 8.563.2-97 (части не конкретизированы); ГОСТ 8.563.3-97 (части не конкретизированы)
Изменения и переиздания
Список изменений:
№1 от (рег. ) «Поправка» №2 от (рег. ) «Срок действия продлен»
Описание стандарта
ГОСТ 26969-86 Диафрагмы стандартные для расходомеров. Технические условия
Страницы стандарта





















