ГОСТ 21557-83 Втулки и кольца соединительные для металлических сильфонов. Общие технические условия
ГОСТ
Скачать ГОСТ в PDF или DOC бесплатно
Основная информация
Обозначение:
ГОСТ 21557-83
Статус:
Действует
Тип:
ГОСТ
Название русское:
Втулки и кольца соединительные для металлических сильфонов. Общие технические условия
Название английское:
The bushings and rings for metallic bellows. General specifications
Даты и сроки
Дата издания:
09-09-83
Дата введения в действие:
06-30-84
Дата завершения срока действия:
-
Применение и описание
Область и условия применения:
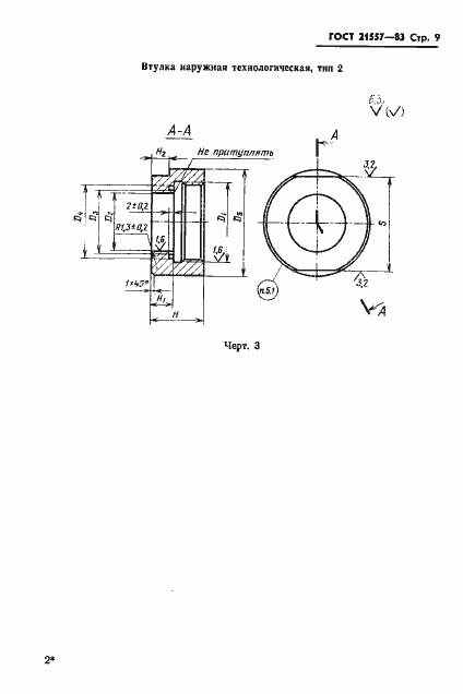
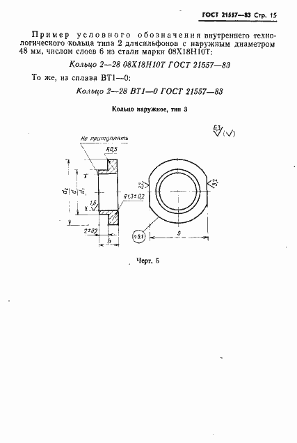
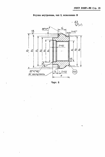
Настоящий стандарт распространяется на соединительные втулки и кольца для многослойных металлических сильфонов, которые используются для соединения сильфонов с сопрягаемыми деталями или для технологических целей при формовании многослойных сильфонов с последующей срезкой
Связи и замены
Заменяющий:
-
Взамен:
ГОСТ 21557-76
Изменения и переиздания
Список изменений:
№1 от (рег. ) «Поправка»
Описание стандарта
ГОСТ 21557-83 Втулки и кольца соединительные для металлических сильфонов. Общие технические условия
Страницы стандарта








































