ГОСТ 28697-90 Программа и методика испытаний сильфонных компенсаторов и уплотнений. Общие требования
ГОСТ
Скачать ГОСТ в PDF или DOC бесплатно
Основная информация
Обозначение:
ГОСТ 28697-90
Статус:
Действует
Тип:
ГОСТ
Название русское:
Программа и методика испытаний сильфонных компенсаторов и уплотнений. Общие требования
Название английское:
Programme and test methods of bellows compensators and seals. General requirements
Даты и сроки
Дата издания:
06-01-05
Дата введения в действие:
01-01-92
Дата завершения срока действия:
-
Применение и описание
Область и условия применения:
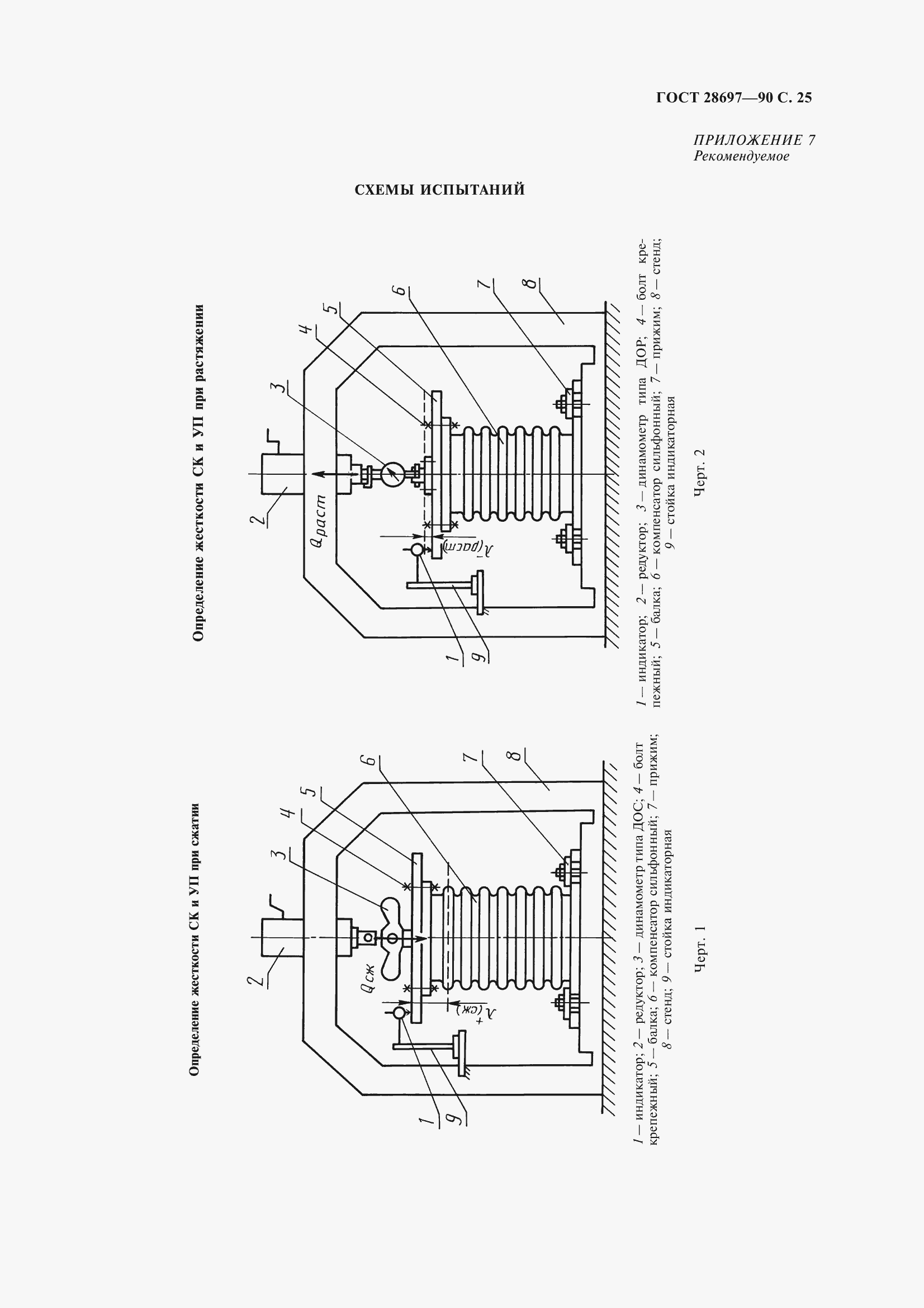
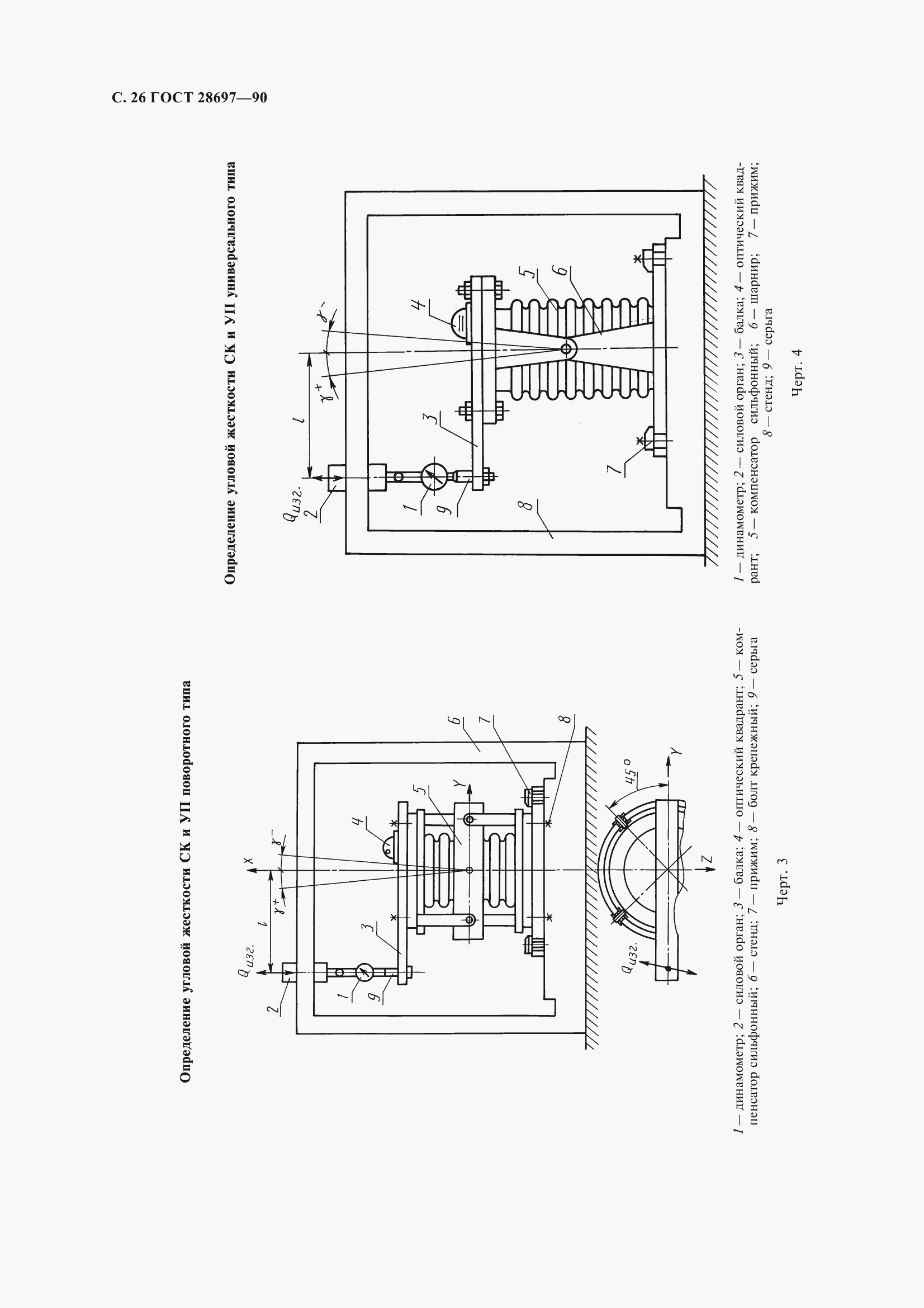
Настоящий стандарт распространяется на программу и методику контрольных испытаний сильфонных компенсаторов и металлических уплотнений, проводимых на этапах их разработки и производства. Стандарт устанавливает общие требования, необходимые виды испытаний, последовательность, правила и условия их проведения, а также порядок оформления результатов. Стандарт не распространяется на предварительные и типовые испытания, которые должны проводиться по специальным программам
Связи и замены
Заменяющий:
-
Описание стандарта
ГОСТ 28697-90 Программа и методика испытаний сильфонных компенсаторов и уплотнений. Общие требования
Страницы стандарта




































Приложение №1: Поправка к ГОСТ 28697-90 Обозначение: Поправка к ГОСТ 28697-90 Дата введения в действие: 29.08.2024

Приложение №1: Поправка к ГОСТ 28697-90 Обозначение: Поправка к ГОСТ 28697-90 Дата введения в действие: 29.08.2024
