ГОСТ 8.156-83 Государственная система обеспечения единства измерений. Счетчики холодной воды. Методы и средства поверки
ГОСТ
Скачать ГОСТ в PDF или DOC бесплатно
Основная информация
Обозначение:
ГОСТ 8.156-83
Статус:
Утратил силу в РФ
Тип:
ГОСТ
Название русское:
Государственная система обеспечения единства измерений. Счетчики холодной воды. Методы и средства поверки
Название английское:
State system for ensuring the uniformity of measurements. Cold water meters. Verification methods and means
Даты и сроки
Дата издания:
10-01-01
Дата введения в действие:
06-30-85
Дата завершения срока действия:
05-17-23
Применение и описание
Область и условия применения:
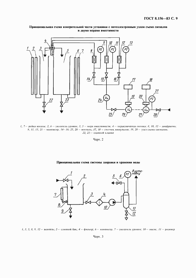
Настоящий стандарт распространяется на счетчики холодной воды, а также счетчики, выпускаемые по нормативно-технической документации, и устанавливае методы и средства их первичной и периодической плверок. По методике настоящего стандарта поверяют счетчики типов СХВК, ВКОС, ВКСМ, ВВ, УВК, ВТ и др., и импортные счетчики с аналогичными метрологическими характеристиками, которые соответствуют требованиям вышеуказанных стандартов
Связи и замены
Заменяющий:
-
Взамен:
ГОСТ 8.156-75
Описание стандарта
ГОСТ 8.156-83 Государственная система обеспечения единства измерений. Счетчики холодной воды. Методы и средства поверки
Страницы стандарта






















