ГОСТ 8.439-81 Государственная система обеспечения единства измерений. Расход воды в напорных трубопроводах. Методика выполнения измерений методом площадь-скорость
ГОСТ
Скачать ГОСТ в PDF или DOC бесплатно
Основная информация
Обозначение:
ГОСТ 8.439-81
Статус:
Действует
Тип:
ГОСТ
Название русское:
Государственная система обеспечения единства измерений. Расход воды в напорных трубопроводах. Методика выполнения измерений методом площадь-скорость
Название английское:
State system for ensuring the uniformity of measurements. Water flow rate in closed conduits. Technique of measuring by velocity-area method
Даты и сроки
Дата издания:
04-01-82
Дата введения в действие:
01-01-83
Дата завершения срока действия:
-
Применение и описание
Область и условия применения:
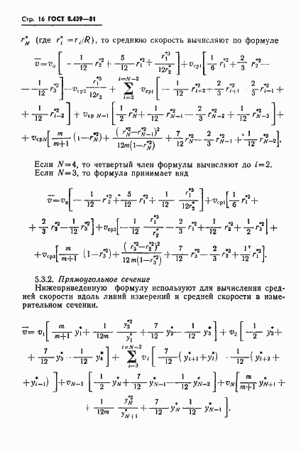
Настоящий стандарт устанавливает методику выполнения измерений объемного расхода воды в напорных трубопроводах методом площадь - скорость при помощи трубок Пито и гидрометрических вертушек и нормы точности измерений при практически стационарном и равномерном поле скоростей воды, состав и свойство которой не препятствуют применению указанных средств измерений, а температура и плотность по сечению трубопровода за время измерений практически не изменяются
Связи и замены
Заменяющий:
-
Описание стандарта
ГОСТ 8.439-81 Государственная система обеспечения единства измерений. Расход воды в напорных трубопроводах. Методика выполнения измерений методом площадь-скорость
Страницы стандарта


















































