ГОСТ 9932-75 Реометры стеклянные лабораторные. Технические условия
ГОСТ
Скачать ГОСТ в PDF или DOC бесплатно
Основная информация
Обозначение:
ГОСТ 9932-75
Статус:
Действует
Тип:
ГОСТ
Название русское:
Реометры стеклянные лабораторные. Технические условия
Название английское:
Laboratory glass flowmeters. Specifications
Даты и сроки
Дата издания:
07-01-94
Дата введения в действие:
01-01-77
Дата завершения срока действия:
-
Применение и описание
Область и условия применения:
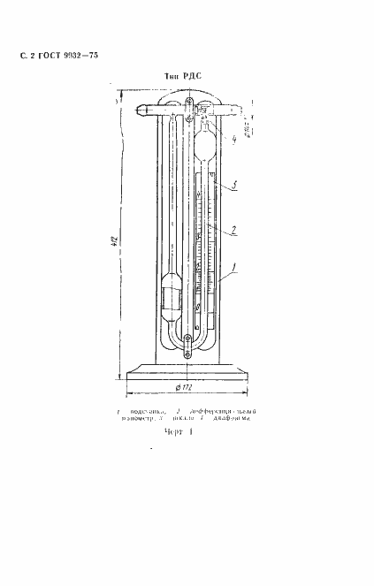
Настоящий стандарт распространяется на реометры, предназначенные для измерения расхода газов в лабораторных условиях, изготовленные для нужд народного хозяйства и экспорта
Связи и замены
Заменяющий:
-
Взамен:
ГОСТ 9932-61
Изменения и переиздания
Список изменений:
№1 от (рег. ) «Срок действия продлен» №2 от (рег. ) «Срок действия продлен» №3 от (рег. ) «Срок действия продлен» №4 от (рег. ) «Срок действия продлен»
Описание стандарта
ГОСТ 9932-75 Реометры стеклянные лабораторные. Технические условия
Страницы стандарта





















