ГОСТ 8.324-78 Государственная система обеспечения единства измерений. Счетчики газа. Методы и средства поверки
ГОСТ
Скачать ГОСТ в PDF или DOC бесплатно
Основная информация
Обозначение:
ГОСТ 8.324-78
Статус:
Заменен
Тип:
ГОСТ
Название русское:
Государственная система обеспечения единства измерений. Счетчики газа. Методы и средства поверки
Название английское:
State system for ensuring the uniformity of measurements. Gas meters. Verification methods and means
Даты и сроки
Дата издания:
01-12-79
Дата введения в действие:
06-30-79
Дата завершения срока действия:
01-01-04
Применение и описание
Область и условия применения:
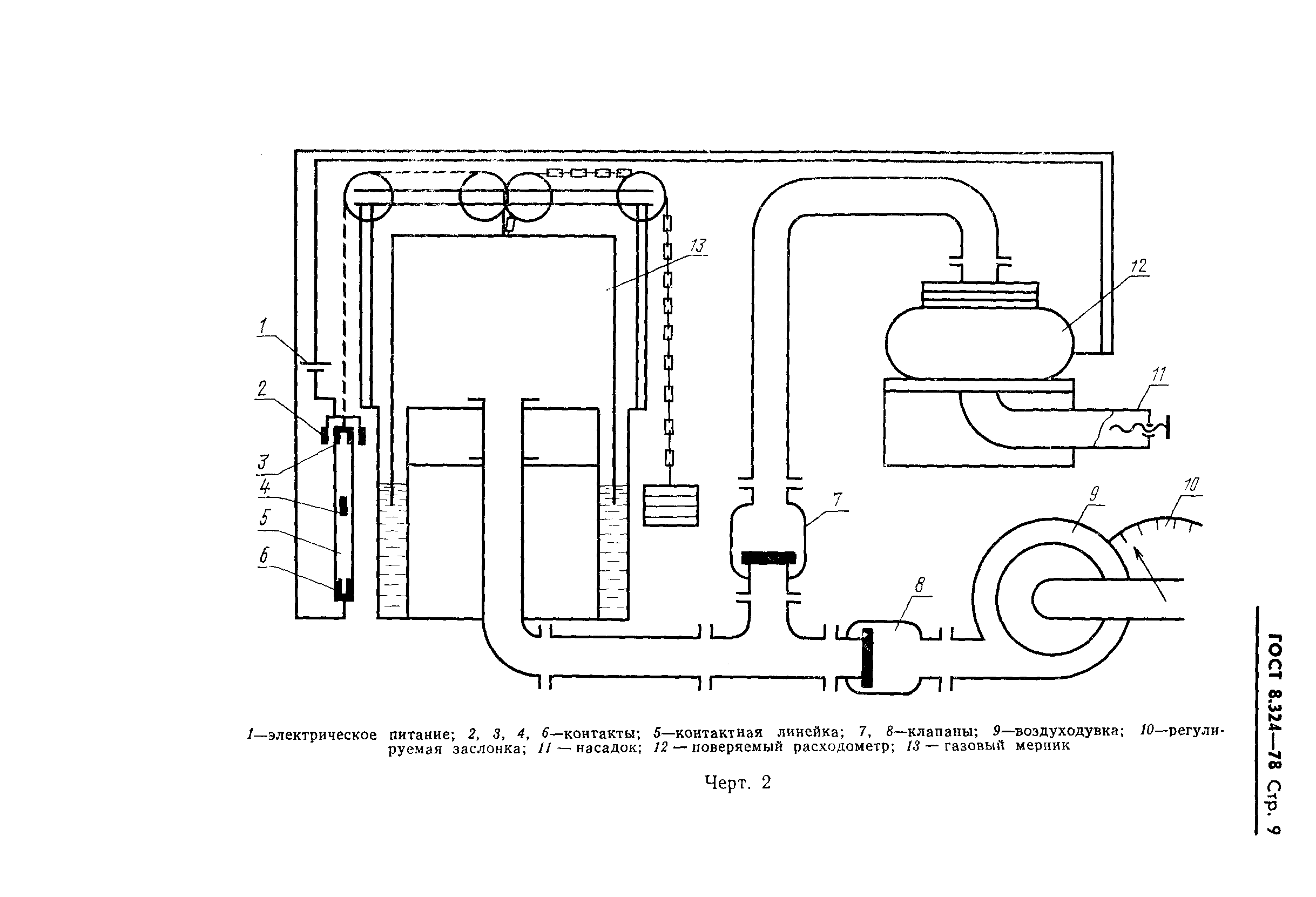
Настоящий стандарт распространяется на ротационные, барабанные и бытовые счетчики газа при расходах 40-2500 м куб./ч и при рабочем избыточном давлении до 0,1 МПа 1 (кгс/см кв.) и устанавливает методы и средства поверки в эксплуатации и при выпуске из ремонта
Связи и замены
Заменяющий:
ГОСТ 8.324-2002
Взамен:
Инструкция 22-56
Описание стандарта
ГОСТ 8.324-78 Государственная система обеспечения единства измерений. Счетчики газа. Методы и средства поверки
Страницы стандарта















