ГОСТ 31338-2006 Акустика. Определение уровней звуковой мощности воздухораспределительного оборудования, демпферов и клапанов в реверберационном помещении
ГОСТ
Скачать ГОСТ в PDF или DOC бесплатно
Основная информация
Обозначение:
ГОСТ 31338-2006
Статус:
Заменен
Тип:
ГОСТ
Название русское:
Акустика. Определение уровней звуковой мощности воздухораспределительного оборудования, демпферов и клапанов в реверберационном помещении
Название английское:
Acoustics. Determination of sound power levels of noise from air-terminal devices, air-terminal units, dampers and valves by measurement in a reverberation room
Даты и сроки
Дата регистрации:
12-07-06
Дата издания:
07-27-07
Дата введения в действие:
10-01-07
Дата завершения срока действия:
01-01-23
Применение и описание
Область и условия применения:
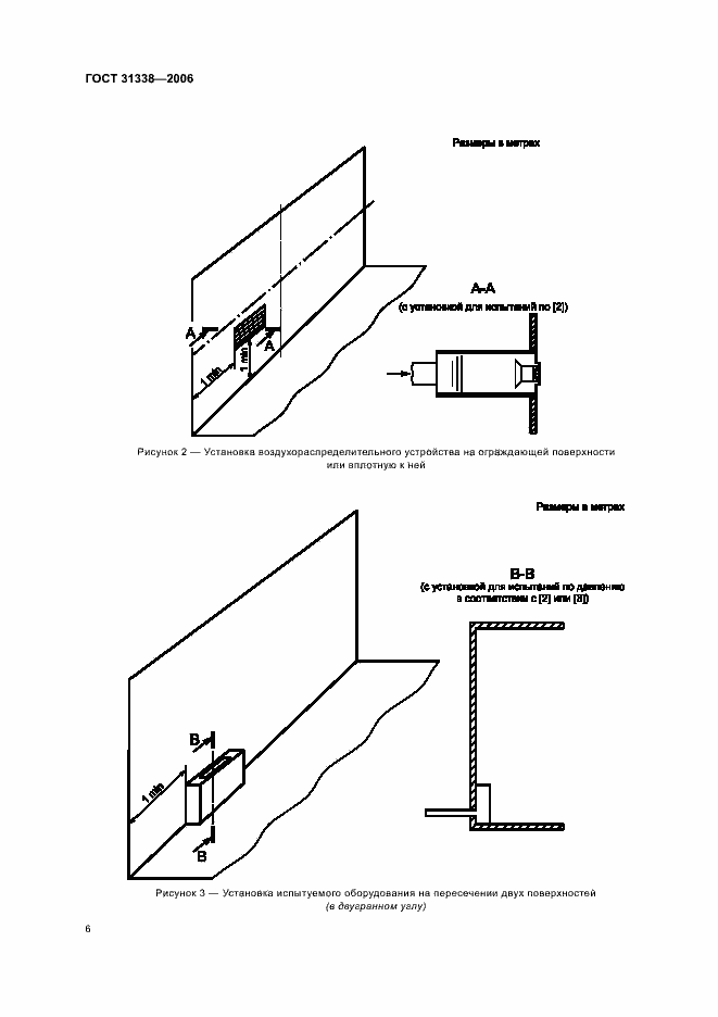
Настоящий стандарт устанавливает общие правила акустических испытаний воздухораспределительных модулей, задвижек и клапанов в системах подачи и распределения воздуха с целью определения уровней звуковой мощности согласно ГОСТ 31252
Связи и замены
Заменяющий:
ГОСТ 31338-2022
Описание стандарта
ГОСТ 31338-2006 Акустика. Определение уровней звуковой мощности воздухораспределительного оборудования, демпферов и клапанов в реверберационном помещении
Страницы стандарта















