ГОСТ Р 51401-99 Шум машин. Определение уровней звуковой мощности источников шума по звуковому давлению. Технический метод в существенно свободном звуковом поле над звукоотражающей плоскостью
ГОСТ Р
Скачать ГОСТ в PDF или DOC бесплатно
Основная информация
Обозначение:
ГОСТ Р 51401-99
Статус:
Заменен
Тип:
ГОСТ Р
Название русское:
Шум машин. Определение уровней звуковой мощности источников шума по звуковому давлению. Технический метод в существенно свободном звуковом поле над звукоотражающей плоскостью
Название английское:
Noise of machines. Determination of sound power levels of noise sources using sound pressure. Engineering method in an essentially free field over a reflecting plane
Даты и сроки
Дата издания:
02-15-00
Дата введения в действие:
07-01-00
Дата завершения срока действия:
12-01-14
Применение и описание
Область и условия применения:
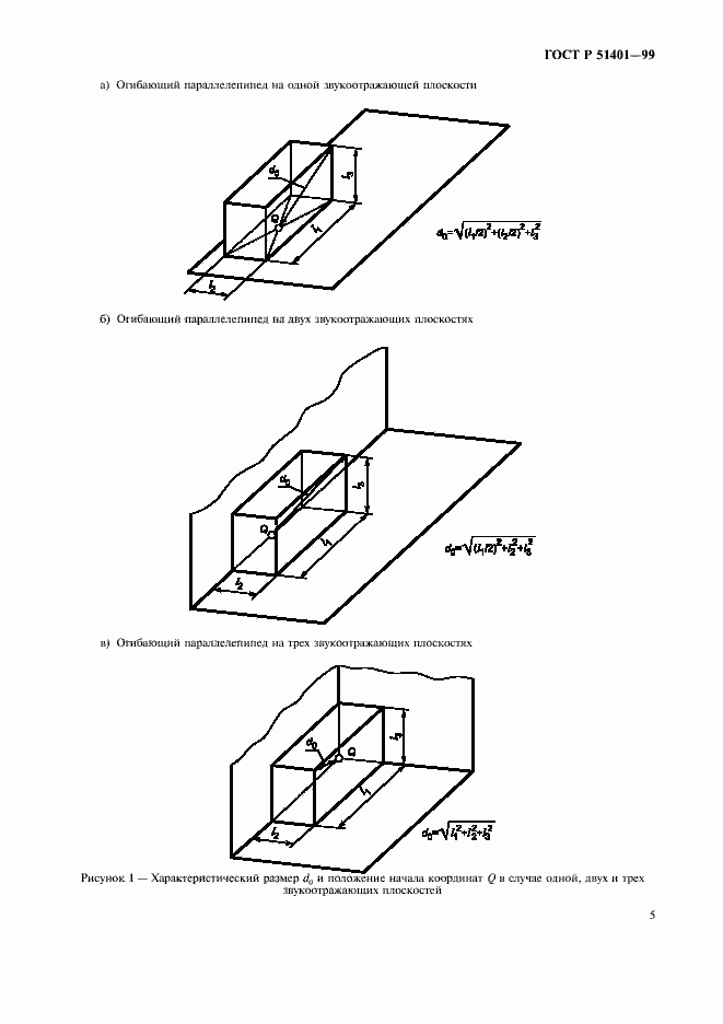
Настоящий стандарт распространяется на машины, технологическое оборудование и другие источники шума (далее - источники шума), которые создают в воздушной среде все виды шумов по ГОСТ 12.1.003
Связи и замены
Заменяющий:
ГОСТ Р ИСО 3744-2013
Описание стандарта
ГОСТ Р 51401-99 Шум машин. Определение уровней звуковой мощности источников шума по звуковому давлению. Технический метод в существенно свободном звуковом поле над звукоотражающей плоскостью
Страницы стандарта






















