ГОСТ Р 52988-2008 Шум машин. Электроагрегаты генераторные переменного тока с приводом от двигателя внутреннего сгорания. Измерение шума методом охватывающей поверхности
ГОСТ Р
Скачать ГОСТ в PDF или DOC бесплатно
Основная информация
Обозначение:
ГОСТ Р 52988-2008
Статус:
Отменен
Тип:
ГОСТ Р
Название русское:
Шум машин. Электроагрегаты генераторные переменного тока с приводом от двигателя внутреннего сгорания. Измерение шума методом охватывающей поверхности
Название английское:
Noise of machines. Reciprocating internal combustion engine driven alternating current generating sets. Measurement of airborne noise by the enveloping surface method
Даты и сроки
Дата издания:
11-14-08
Дата введения в действие:
09-01-09
Дата завершения срока действия:
11-01-12
Применение и описание
Область и условия применения:
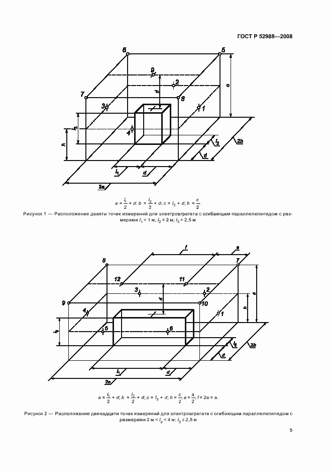
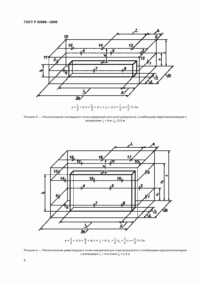
Настоящий стандарт устанавливает технический и ориентировочный методы измерения уровня звуковой мощности электроагрегатов генераторных с приводом от двигателя внутреннего сгорания с учетом всех источников шума, исключая выхлопную систему и систему охлаждения в случае, когда их выходные отверстия находятся на удалении от электроагрегата. Стандарт распространяется на наземные и судовые стационарные и передвижные электроагрегаты переменного и постоянного тока, устанавливаемые на жестких или упругих опорах. Стандарт не распространяется на электроагрегаты воздушных судов, а также на электроагрегаты для приведения в движение наземных и железнодорожных транспортных средств
Связи и замены
Заменяющий:
-
Изменения и переиздания
Список изменений:
№0 от (рег. ) «Текстовое изменение; Изменено заглавие»
Описание стандарта
ГОСТ Р 52988-2008 Шум машин. Электроагрегаты генераторные переменного тока с приводом от двигателя внутреннего сгорания. Измерение шума методом охватывающей поверхности
Страницы стандарта


















