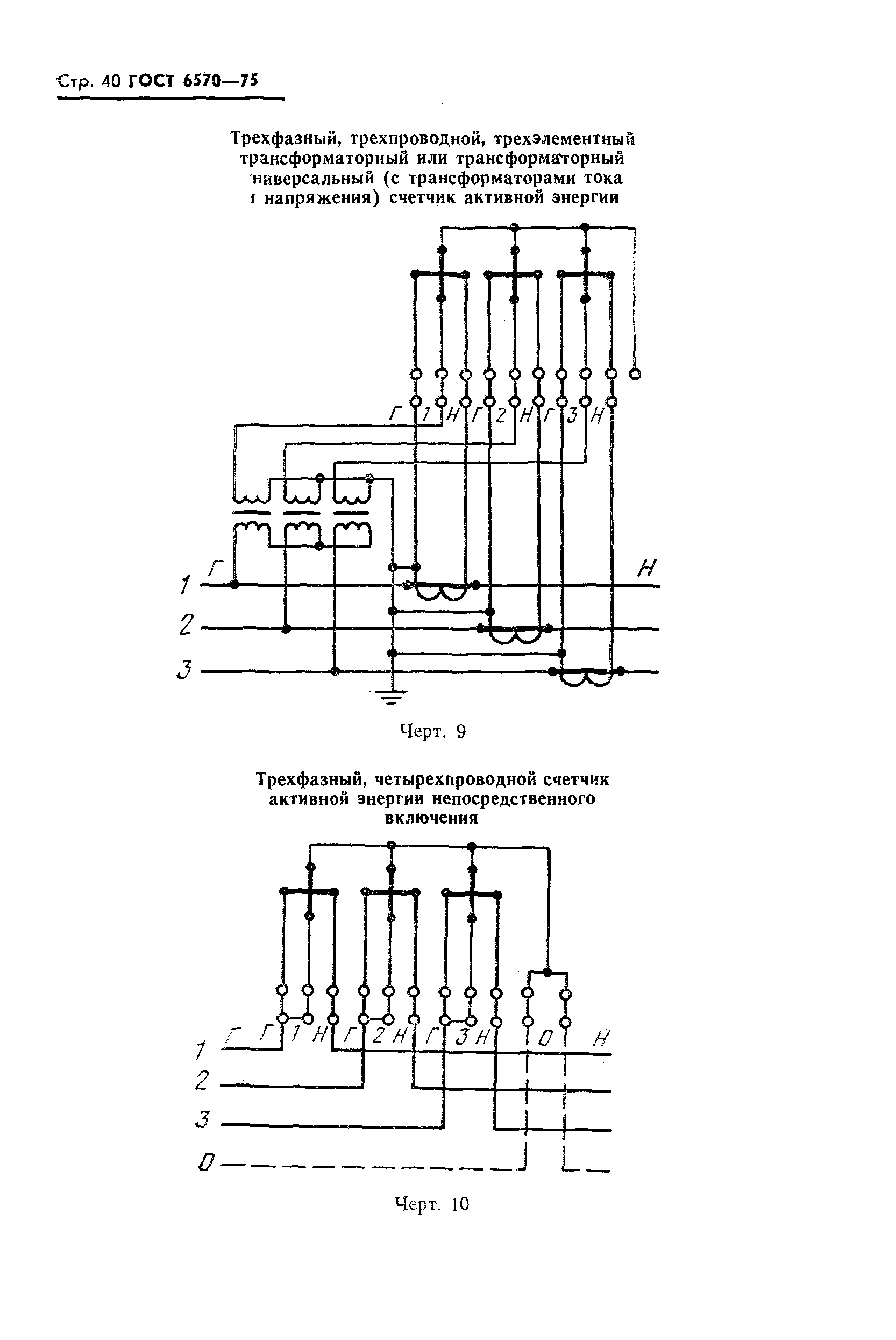
ГОСТ 6570-75 Счетчики электрические активной и реактивной энергии индукционные. Общие технические условия
ГОСТ
Скачать ГОСТ в PDF или DOC бесплатно
Основная информация
Обозначение:
ГОСТ 6570-75
Статус:
Заменен
Тип:
ГОСТ
Название русское:
Счетчики электрические активной и реактивной энергии индукционные. Общие технические условия
Название английское:
Electrical induction active and reactive energy meters. General technical specifications
Даты и сроки
Дата издания:
08-01-91
Дата введения в действие:
01-01-76
Дата завершения срока действия:
07-01-97
Связи и замены
Заменяющий:
ГОСТ 6570-96
Взамен:
ГОСТ 6570-60
Изменения и переиздания
Список изменений:
№2 от (рег. ) «Срок действия продлен» №3 от (рег. ) «Срок действия продлен» №4 от (рег. ) «Срок действия продлен» №5 от (рег. ) «Срок действия продлен»
Описание стандарта
ГОСТ 6570-75 Счетчики электрические активной и реактивной энергии индукционные. Общие технические условия
Страницы стандарта
















































