ГОСТ 8.354-85 Государственная система обеспечения единства измерений. Анализаторы жидкости кондуктометрические. Методика поверки
ГОСТ
Скачать ГОСТ в PDF или DOC бесплатно
Основная информация
Обозначение:
ГОСТ 8.354-85
Статус:
Утратил силу в РФ
Тип:
ГОСТ
Название русское:
Государственная система обеспечения единства измерений. Анализаторы жидкости кондуктометрические. Методика поверки
Название английское:
State system for ensuring the uniformity of measurements. Conductometric liquid analysers. Methods of verification
Даты и сроки
Дата издания:
01-23-86
Дата введения в действие:
01-01-87
Дата завершения срока действия:
01-01-12
Применение и описание
Область и условия применения:
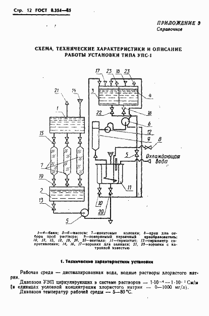
Настоящий стандарт распространяется на кондуктометрические анализаторы жидкости общепромышленного применения, выпускаемые по ГОСТ 13350-78, предназначенные для измерения удельной электрической проводимости и концентрации жидкостей, для которых нормирована однозначная связь между их удельной электрической проводимостью и составом, и устанавливает методику первичной и периодической поверок
Связи и замены
Заменяющий:
-
Взамен:
ГОСТ 8.354-79
Изменения и переиздания
Список изменений:
№0 от (рег. ) «Поправка к изменению»
Описание стандарта
ГОСТ 8.354-85 Государственная система обеспечения единства измерений. Анализаторы жидкости кондуктометрические. Методика поверки
Страницы стандарта
















