ГОСТ 30630.1.10-2013 Методы испытаний на стойкость к механическим внешним воздействующим факторам машин, приборов и других технических изделий. Удары по оболочке изделия
ГОСТ
Скачать ГОСТ в PDF или DOC бесплатно
Основная информация
Обозначение:
ГОСТ 30630.1.10-2013
Статус:
Действует
Тип:
ГОСТ
Название русское:
Методы испытаний на стойкость к механическим внешним воздействующим факторам машин, приборов и других технических изделий. Удары по оболочке изделия
Название английское:
Mechanic environment stability test methods for machines, instruments and other industrial products. Bumps to enclosure of products
Даты и сроки
Дата регистрации:
11-14-13
Дата издания:
06-02-15
Дата введения в действие:
01-01-15
Дата завершения срока действия:
-
Применение и описание
Область и условия применения:
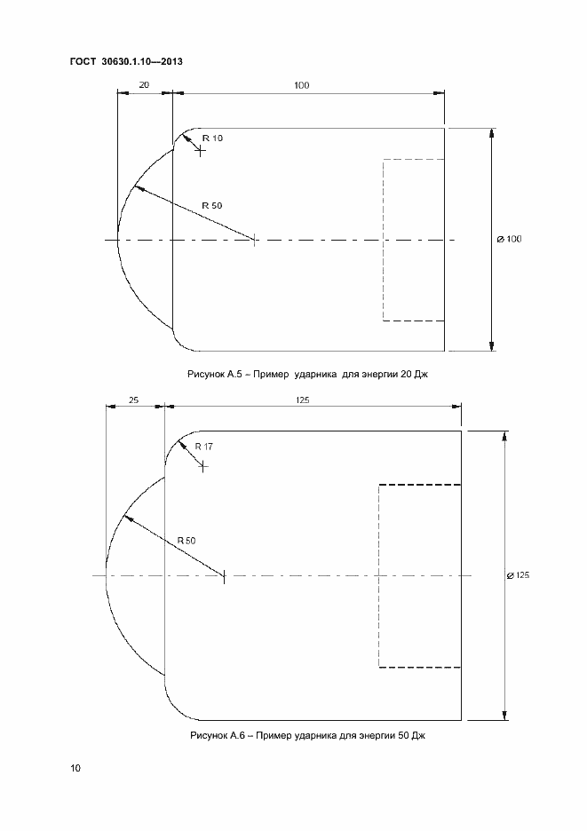
Настоящий стандарт распространяется на машины, приборы и другие технические изделия всех видов (далее - изделия), которым предъявлено требование по воздействию ударов посторонних предметов с энергией до 50 Дж и устанавливает методы их соответствующих испытаний. Стандарт применяют совместно с ГОСТ 30630.0.0
Связи и замены
Заменяющий:
-
Описание стандарта
ГОСТ 30630.1.10-2013 Методы испытаний на стойкость к механическим внешним воздействующим факторам машин, приборов и других технических изделий. Удары по оболочке изделия
Страницы стандарта

































