ГОСТ 21318-75 Измерение микротвердости царапанием алмазными наконечниками
ГОСТ
Скачать ГОСТ в PDF или DOC бесплатно
Основная информация
Обозначение:
ГОСТ 21318-75
Статус:
Действует
Тип:
ГОСТ
Название русское:
Измерение микротвердости царапанием алмазными наконечниками
Название английское:
Measurement of microhardness by scratch diamond instruments
Даты и сроки
Дата издания:
02-18-76
Дата введения в действие:
06-30-76
Дата завершения срока действия:
-
Применение и описание
Область и условия применения:
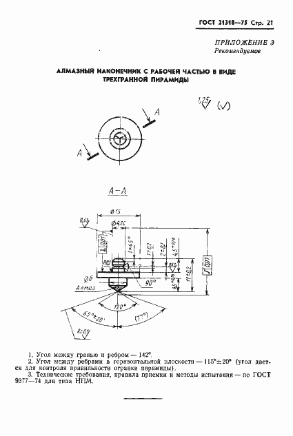
Настоящий стандарт устанавливает метод измерения микротвердости царапанием поверхностного слоя (нанесением канавки) четырехгранной или трехгранной алмазной пирамидой под действием нормальной нагрузки от 0,049 до 1,962 Н (от 0,005 до 0,200 кгс). Стандарт не распространяется: на измерения микротвердости алмаза и его производных и на случаи, когда ширину канавки невозможно измерить из-за неопределенности контура ее границы
Связи и замены
Заменяющий:
-
Изменения и переиздания
Список изменений:
№1 от (рег. ) «Срок действия продлен»
Описание стандарта
ГОСТ 21318-75 Измерение микротвердости царапанием алмазными наконечниками
Страницы стандарта





























