ГОСТ Р 52762-2007 Методы испытаний на стойкость к механическим внешним воздействующим факторам машин, приборов и других технических изделий. Испытания на воздействие ударов по оболочке изделий
ГОСТ Р
Скачать ГОСТ в PDF или DOC бесплатно
Основная информация
Обозначение:
ГОСТ Р 52762-2007
Статус:
Отменен
Тип:
ГОСТ Р
Название русское:
Методы испытаний на стойкость к механическим внешним воздействующим факторам машин, приборов и других технических изделий. Испытания на воздействие ударов по оболочке изделий
Название английское:
Mechanical environment stability test methods for machines, instruments and other industrial products. Test methods for bumps to enclosure of products
Даты и сроки
Дата издания:
12-11-07
Дата введения в действие:
01-01-08
Дата завершения срока действия:
01-01-15
Применение и описание
Область и условия применения:
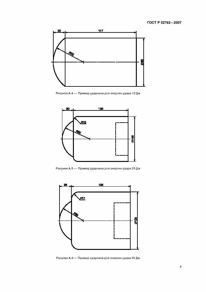
Настоящий стандарт распространяется на машины, приборы и другие технические изделия всех видов, которым предъявляют требование по воздействию ударов посторонних предметов с энергией до 50 Дж, и устанавливает методы их соответствующих испытаний. Стандарт применяют совместно с ГОСТ 30630.0.0
Связи и замены
Заменяющий:
-
Изменения и переиздания
Список изменений:
№0 от (рег. ) «Текстовое изменение; Изменено заглавие»
Описание стандарта
ГОСТ Р 52762-2007 Методы испытаний на стойкость к механическим внешним воздействующим факторам машин, приборов и других технических изделий. Испытания на воздействие ударов по оболочке изделий
Страницы стандарта























